長江三角洲區域醫療器械注冊人制度試點工作實施方案(試行)(滬藥監械管〔2019〕112號)
為深入貫徹落實中共中央辦公廳、國務院辦公廳印發的《關于深化審評審批制度改革鼓勵藥品醫療器械創新的意見》(廳字〔2017〕42號),按照國家藥品監督管理局《關于擴大醫療器械
來源:醫療器械注冊代辦 發布日期:2019-11-15 閱讀量:次
附件:牙根尖定位儀注冊技術審查指導原則(2019年第79號).doc
本指導原則編寫目的是指導和規范牙根尖定位儀產品注冊申報過程中審查人員對注冊材料的技術審評;同時也可指導申請人的產品注冊申報。
本指導原則是對牙根尖定位儀的通用要求,注冊申請人應根據具體產品的特性編寫注冊申報資料,指導原則中的條款若不適用,需提供闡述理由及相應的科學依據,并依據產品的具體特性對注冊申報資料的內容進行充實和細化。

本指導原則為推薦性參考材料,不作強制執行,如有能夠證明產品安全有效的其他方法,也可以采用,但應提供詳細的研究資料和驗證資料。應在遵循相關法規的前提下使用本指導原則。本指導原則是在現行法規、標準及當前認知水平下制定的,當法規、標準進行調整和認知水平發生變化時,本指導原則相關內容也將同步進行調整
本指導原則適用于《醫療器械分類目錄》中一級產品類別中的口腔治療設備,二級產品類別中的09根管治療設備,管理類別為第二類有源器械,分類編碼17-03-09。
本指導原則適用于牙根尖定位儀(臨床上俗稱牙科根管長度測定儀),用于牙科臨床根管治療時輔助確定工作長度。
(一)產品名稱的要求 產品的命名應符合《醫療器械通用名稱命名規則》(國家食品藥品監督管理總局令第19號)和國家標準、行業標準中的通用名稱要求。根據實際用途,產品名稱建議規范為:牙根尖定位儀。
(二)產品的結構和組成
通常由主機、唇掛鉤、測量導線和電源組成。企業也可結合產品自身特點,增加其他配件,如根管銼夾、探針等。產品示意圖如下圖。

圖1 牙根尖定位儀

圖2 牙根尖定位儀主要配件
(三)產品工作原理
工作原理:通過電子儀器測量根管內阻抗變化規律來確定活體牙根尖孔位置或根管長度。申請人應根據產品特性具體描述測量方法。
(四)注冊單元劃分的原則和實例
注冊單元劃分按照《醫療器械注冊管理辦法》(國家食品藥品監督管理總局令第4號)第七十四條的要求,“原則上以產品的技術原理、結構組成、性能指標和適用范圍為劃分依據”實施。
(五)產品適用的相關標準
如下表格列出牙根尖定位儀主要涉及的現行有效的國家/行業標準;如有標準發布或更新,應考慮新版標準的適用性。國家/行業標準中不適用條款應在產品性能研究資料中說明合理原因。
表1 產品適用的標準
| 標準編號 | 標準名稱 |
| GB 9706.1-2007 | 醫用電氣設備第1部分:安全通用要求 |
| GB/T 191-2008 | 包裝儲運圖示標志 |
| GB/T14710-2009 | 醫用電器環境要求及試驗方法 |
| GB/T16886.1-2011 | 醫療器械生物學評價第1部分:風險管理過程中的評價與試驗 |
| GB/T16886.5-2017 | 醫療器械生物學評價第5部分:體外細胞毒性試驗 |
| GB/T16886.10-2017 | 醫療器械生物學評價 第10部分:刺激與皮膚致敏試驗 |
| GB/T 16886.12-2017 | 醫療器械生物學評價 第12部分:樣品制備與參照材料 |
| YY 0505-2012 | 醫用電氣設備第1-2部分:安全通用要求并列標準:電磁兼容要求 |
| YY/T 0466.1-2016 | 醫療器械 用于醫療器械標簽、標記和提供信息的符號 第1部分:通用要求 |
| YY/T 0316-2016 | 醫療器械風險管理對醫療器械的應用 |
| YY/T 0268-2008 | 牙科學口腔醫療器械生物學評價第1單元:評價與試驗 |
| YY/T 0149-2006 | 不銹鋼醫用器械耐腐蝕性能試驗方法 |
| YY/T 0294.1-2016 | 外科器械金屬材料 第1部分:不銹鋼 |
| 報批標準 | 牙科學牙根尖定位儀 |
上述標準包括了牙根尖定位儀涉及到的標準,注冊申請人可以根據產品的特點引用其他相關標準。
對產品適用及引用標準的審查可以分兩步來進行。
首先對引用標準的齊全性和適宜性進行審查,包括在編寫注冊產品技術要求時與產品相關的國家、行業標準是否進行了引用,以及引用是否準確。可以通過對研究資料中的產品性能研究是否引用了相關標準,以及所引用的標準是否適宜來進行審查。
其次對引用標準的采納情況進行審查。即所引用的標準中的條款要求,是否在注冊產品技術要求中進行了實質性的引用。
如有新版強制性國家標準、行業標準發布實施,產品性能指標等要求應執行最新版本的國家標準、行業標準。
(六)產品的適用范圍/預期用途、禁忌癥
適用范圍:用于牙科臨床根管治療時輔助確定工作長度。
禁忌癥:可能需要針對佩戴心臟起搏器或者其它有源植入式醫療器械的患者或者用戶采取特殊措施。
(七)產品的主要風險
牙根尖定位儀的風險管理報告應符合YY/T 0316—2016《醫療器械風險管理對醫療器械的應用》的有關要求,審查要點包括:
1.與產品有關的安全性特征判定可參考YY/T 0316—2016的附錄C。
2.危害、可預見的事件序列和危害處境判斷可參考YY/T 0316—2016附錄E。
3.風險控制的方案與實施、綜合剩余風險的可接受性評價及生產和生產后監視相關方法可參考YY/T 0316—2016附錄F、G、J。
4.風險可接收準則,降低風險的措施及采取措施后風險的可接收程度,是否有新的風險產生。
以下依據YY/T 0316—2016的附錄E(表E.1)從十四個方面提示性列舉了牙根尖定位儀可能存在的危害因素,提示審查人員可從以下方面考慮。
表2 危害、可預見的事件序列、危害處境和可發生的損害之間的關系
| 危害 | 可預見的事件序列 | 危害處境 | 損害 |
| 能量危害 | |||
| 電能 -漏電流 -低電量 -電路設計 | (1)隔離設計不合理、原材料采用不合格導致漏電。 (2)低電量下定位不準。 (3)電路短路。 | (1)電能施加到人體。 (2)測量結果錯誤 | (1)觸電。 (2)錯誤結果導致治療失效。 (3)產品燒毀。 |
| 電場 磁場 | (1)設計不合理導致電輻射過大影響其他設備的運轉。 (2)電磁干擾影響牙根尖定位儀正常運轉。 | (1)其他設備運轉故障。 (2)牙根尖定位儀運轉故障。 (3)控制電路受外來干擾 | (1)導致其他設備失效。 (2)性能失效。 |
| 熱能: -高溫 -低溫 | (1)元器件高溫引起電源適配器自燃。 (2)環境低溫引起液晶顯示失效。 | (1)元器件燒毀或燃燒。 (2)牙根尖定位儀運轉故障 | 設備故障、自燃 |
| 機械能 -墜落 -翻側振動 -貯存的能量 -運動零件 -患者的移動和定位 | (1)便攜式設備跌落。 (2)部分患者對口腔異物有排斥,口腔肌肉等的移動頻繁導致測量困難或患者受傷。 | 墜落造成設備絕緣強度降低 | 電擊及機械損傷 |
| 聲能: -超聲能量 -次聲能量 -聲音 | / | / | / |
| 生物學和化學危害 | |||
| 生物相容性 細菌 病毒 其他微生物 | (1)接觸人體部件不具有良好的生物相容性。 (2)使用過程中被細菌、病毒或其他微生物的感染。 | (1)材料刺激使口腔黏膜受到刺激。 (2)細菌、病毒或其他微生物進入使用者體內。 | 細菌、病毒等感染。 |
| 消毒、清潔 | 應用部件消毒不完全傳染疾病。 | 交叉傳染。 | 傳染高致病性疾病 |
| 外來物質殘留 | 對人體產生刺激的清潔劑、消毒劑的殘留 | 刺激 | 使用者受到損傷 |
| 操作危害-功能 | |||
| 功能的喪失或變壞 | 由于裝配不合理導致定位儀的功能喪失或變壞。 | 使用時導致無法正常使用或測量不準確。 | 測量數據不準確導致治療失敗。 |
| 操作危害: 使用錯誤 不遵守規則 缺乏知識 違反常規 | 使用者不按說明書操作, 產品用于禁止使用的人群 | (1)使用時導致無法正常使用。 (2)非預期使用造成傷害。 (3)導致測量不準確。 | (1)無法正常使用 (2)測量數據不準確導致治療失敗。 |
| 信息危害 | |||
| 標記 | 標記缺少或不正確、標記的位置不正確、不能被正確地識別、不能永久貼牢和清楚易認。 | 給用戶在使用、操作上誤導,使用時導致無法正常使用。 | 錯誤使用導致傷害。 |
| 信息危害 | |||
| 不完整的使用說明書 | (1)不符合法規及標準的說明書。 (2)使用方法不詳細,安裝調試方法不詳細,使用環境不明確等 (3)禁忌癥不明確 | 使用時導致無法正常使用或錯誤使用。 | 錯誤使用導致傷害。 |
| 信息危害 | |||
| 警告 | 未對合理可預見的誤用進行警告、未對因長期使用產生功能喪失而可能引發危害進行警告等 | (1)錯誤使用。 (2)測量不準確。 | 錯誤使用導致傷害。 |
| 服務和維護規范 | (1)保養方法說明不明確。 (2)售后服務單位不明確。 | (1)設備受損。 (2)測量不準確 | 無法正常使用 |
(八)產品的研究要求
1.產品性能研究
1.1應提供產品性能研究資料以及產品技術要求的研究說明,包括功能性、安全性指標以及與質量控制相關的其他指標的確定依據,所采用的標準或方法、采用的原因及理論基礎。
1.2應描述所采用的國家標準、行業標準中不適用條款及理由。
1.3如有新增功能、附件及試驗方法,應提供性能指標制定的相關依據。
2.生物相容性評價
應對產品中與患者直接接觸的材料的生物相容性進行評價。生物相容性評價根據《醫療器械生物學評價第1部分:評價與試驗》(GB/T 16886.1—2011)進行。生物學評價過程中應當注重運用已有信息(包括材料、文獻資料、體外和體內試驗數據、臨床經驗)。當需要進行生物學評價試驗時,應當由國家藥品監督管理局認可的、并具有相應生物學評價試驗資質的醫療器械檢測機構進行。
生物相容性評價研究資料應當包括:
(1)生物相容性評價的依據和方法。應用部分應至少考慮細胞毒性、遲發型超敏反應、口腔粘膜刺激/皮內反應。
(2)產品所用材料的描述及與人體接觸的性質。
(3)實施或豁免生物學試驗的理由和論證。
(4)對于現有數據或試驗結果的評價。
3.生物安全性研究
不適用。
4.滅菌/消毒工藝研究
(1)終端用戶滅菌:應當明確推薦的滅菌/消毒工藝(方法和參數)及所推薦的滅菌/消毒方法確定的依據;對可耐受兩次或多次滅菌的產品,應當提供產品相關推薦的滅菌方法耐受性的研究資料。
(2)殘留毒性:如滅菌使用的方法容易出現殘留,應當明確殘留物信息及采取的處理方法,并提供研究資料。
5.產品有效期和包裝研究
整體研究可參照相關指導原則的要求進行評價。
(1)有效期的確定:應提供產品有效期的驗證報告。
(2)應提供根管銼夾等有限次使用部件的使用次數驗證資料。
(3)包裝及包裝完整性:在宣稱的有效期內以及運輸儲存條件下,保持包裝完整性的依據。
6.動物試驗
不適用。
7.軟件研究
若申報產品使用軟件(包括計算機或單片機的程序)控制牙根尖定位儀的功能,應當單獨提供一份醫療器械軟件描述文檔,內容包括基本信息、實現過程和核心算法,詳盡程度取決于軟件的安全性級別和復雜程度,編寫可參見《醫療器械軟件注冊技術審查指導原則》(國家食品藥品監督管理總局通告2015年第50號)的相關要求。
8.網絡安全研究(若適用)
具有網絡連接功能以進行電子數據交換或遠程控制的醫療器械產品的注冊申報,注冊申請人應單獨提交一份網絡安全描述文檔。若采用云計算服務,申請人應當根據本指導原則的要求提交云計算服務的注冊申報資料。網絡安全描述文檔應按《醫療器械網絡安全注冊技術審查指導原則》第四節的要求提供。
9臨床精度研究
若進行臨床研究的,可參照下述方法進行評價。
9.1受試對象
根據本產品目標適用人群,在臨床研究方案中描述受試對象口腔狀況并規定合理的受試者納入及排除標準。
受試對象口腔狀況至少應描述:口腔衛生狀況,牙齒清潔度及色澤,牙齦及口腔黏膜情況,根尖周組織和牙周組織情況和咬合情況等。
受試者納入標準應同時滿足下述要求:
(1)需進行根管治療的患者;
(2)根管未充填;
(3)牙根無折斷或穿孔;
(4)未佩戴有源植入器械(比如心臟起搏器)。
9.2方法設計
目前將X光(即X光照相術)視為判定解剖實際位置的“金標準”,即將采用X光方案獲得的結果(工作長度)視為對照組。以成像中根尖(即根尖孔、主要根尖孔)作為對照組的主要參照點。其中,成像根尖是指X光照片中的根管末端,并不始終處于牙根的解剖根尖位置。如果采用其它解剖位置作為參照點,則應當解釋說明,并且提供可替代X光照片中定義這一位置的證明性資料。
用金標準方法定義的解剖位置作為判定工作長度的參照點,并將該參照點與牙冠參照點之間的距離視為“實際工作長度”。臨床研究通過使用牙根尖定位儀的測定結果與金標準方法的判斷結果進行比對分析。
9.3評價標準
與X線片法檢測結果比對,75%的長度偏差在±0.5mm以內。
9.4樣本量應不少于60例。
(九)產品技術要求應包括的主要性能指標
本條款給出需要考慮的產品基本技術性能指標,給出了推薦要求,注冊申請人可參考相應的國家標準、行業標準,根據自身產品的技術特點制定相應的指標,但不得低于相關強制性國家標準、行業標準的有關要求。
根據中華人民共和國標準化法有關規定,鼓勵企業采用推薦性標準。申請人如果有其他科學依據證明醫療器械安全有效的,也可采用其他的方法。申請人可以在醫療器械產品技術要求中直接采用推薦性標準,也可以通過其他方法證明產品符合安全有效的要求。如果申請人在產品技術要求中引用了推薦性標準的性能指標和檢驗方法,即申請人把推薦性標準作為本注冊人承諾的技術要求,則其上市的醫療器械應符合產品技術要求及引用的推薦性標準的要求。
如有不適用條款(包括國家標準、行業標準要求),申請人在研究資料的產品性能研究中應說明理由。
產品技術要求中的性能指標是指可進行客觀判定的指標,所引用標準中注明申請人規定的指標需給出具體的內容:
1.建議符合《牙科學-牙根尖定位儀》標準適用部分的要求。若包含其他配件(如根管銼夾/探針等),應根據其特性制定相應的性能指標。
2.電氣安全應符合GB 9706.1—2007《醫用電氣設備第1部分:安全通用要求》的要求。
3.電磁兼容應符合YY 0505—2012《醫用電氣設備第1-2部分安全通用要求并列標準電磁兼容要求和試驗》的要求。
4.環境試驗應符合GB/T 14710—2009《醫用電器環境要求及試驗方法》的要求。
5.軟件功能
若申報產品含有軟件組件,軟件組件應在醫療器械產品技術要求中進行規范,其中“產品型號/規格及其劃分說明”應明確軟件的名稱、型號規格、發布版本、版本命名規則、運行環境(控制型軟件組件適用,包括硬件配置、軟件環境和網絡條件),而“性能指標”應明確軟件全部臨床功能綱要。
6.網絡安全(若適用)
注冊申請人應在產品技術要求性能指標中明確數據接口、用戶訪問控制的要求:
(1)數據接口:傳輸協議/存儲格式。
(2)用戶訪問控制:用戶身份鑒別方法、用戶類型及權限。
(十)同一注冊單元內注冊檢驗代表產品確定原則和實例
同一注冊單元內所檢驗的產品應當能夠代表本注冊單元內其他產品安全性和有效性。應考慮關鍵元器件、技術指標及性能不改變,功能可以達到最齊全、結構最復雜、風險最高的產品。
同一注冊單元內不同型號規格的產品建議在產品技術要求中明確各型號規格間的關鍵部件、基本原理、預期用途、主要技術性能指標、配置附件、結構外觀等方面的區別。
電磁兼容的檢測應涵蓋所有申報型號。
(十一)產品生產制造相關要求
1.明確產品生產工藝過程
工藝過程可采用流程圖的形式,并說明其每道工序的操作說明及接收和放行標準,同時對過程控制要點進行詳細說明。
2.詳細說明產品生產場地地址、生產工藝布局、生產環境要求及周邊情況。有多個研制、生產場地,應當概述每個研制、生產場地的實際情況。
(十二)產品的臨床評價細化要求
1.牙根尖定位儀暫未列入《免于進行臨床試驗的第二類醫療器械目錄》的范疇,注冊申請人應按《醫療器械注冊管理辦法》、《醫療器械臨床評價技術指導原則》選擇合理的臨床評價方式,提交臨床評價資料,包括但不限于本指南提供的臨床研究資料類型。
需進行臨床試驗的,應當按照《醫療器械臨床試驗質量管理規范》的要求開展,注冊申請人在注冊申報時,應當提交臨床試驗方案和臨床試驗報告。
(十三)該類產品的不良事件歷史記錄
暫無該類產品的不良事件報道。
(十四)產品說明書和標簽要求
產品說明書、標簽和包裝標識應符合《醫療器械說明書和標簽管理規定》(國家食品藥品監督管理總局令第6號)及相關標準的規定。并應明確以下信息:
1.說明書至少應包括以下內容:
1.1工作環境(至少包括濕度和溫度);
1.2牙根尖定位儀的定位精度;
1.3若適用,唇掛鉤的滅菌方法,及根管銼夾和測量導線是否可滅菌的說明;
1.4若適用,唇掛鉤、根管銼夾一次性使用說明;
1.5唇掛鉤、探針最高使用次數的說明;
1.6牙根尖定位儀及配件的清潔和消毒說明;
1.7禁忌癥、注意事項、警示及提示性說明(可按申報產品的實際情況進行編寫,應考慮孕婦和兒童等其他特殊人群的使用情況)。
2.標簽
最小銷售單元的標簽樣稿應符合《醫療器械說明書和標簽管理規定》(國家食品藥品監督管理總局令第6號)第十三條的要求。
(一)牙根尖定位儀的預期用途是否準確。
(二)牙根尖定位儀應符合相關的強制性國家標準、行業標準和有關法律、法規的規定,并按《醫療器械產品技術要求編寫指導原則》(國家食品藥品監督管理總局通告2014年第9號)的要求編制。
(三)說明書中應告知用戶的信息是否完整。
(四)臨床精度研究是否可證明產品的有效性。
(五)軟件研究資料核心算法是否明確。
(六)檢測典型型號是否能夠代表本注冊單元內其他產品的安全性和有效性。
(七)生物相容性研究是否滿足要求。
廣東省藥品監督管理局審評認證中心
附:牙根尖定位儀產品技術要求(樣式)
附
醫療器械產品技術要求編號:
1.產品型號/規格及其劃分說明
1.1產品型號/規格說明
1.2軟件相關信息:應明確軟件的名稱、型號規格、發布版本、版本命名規則、運行環境(控制型軟件組件適用,包括硬件配置、軟件環境和網絡條件)
2.性能指標
2.1外觀與結構
a)定位儀外表面應平整、光滑、整潔,不應有明顯的凹凸、裂痕、鋒棱,過渡處的輪廓應清晰,不應有明顯的劃傷。
b)定位儀的控制件及插口應安裝正確、牢固,其作用應符合標示的功能。
c)定位儀開關及控制按鈕/旋鈕操作應靈活、可靠,緊固件應無松動。
d)定位儀的文字和標記應清晰、準確、牢固。
2.2定位精度
利用3.2所示的裝置定位牙根尖孔時,定位位置和實際位置的差值應在±0.5mm的范圍內。
2.3 牙根尖孔的識別
當設備探測至牙根尖孔時,應能給出視覺和聽覺提示。
2.4唇掛鉤的耐滅菌性
可重復使用的唇掛鉤,按制造商推薦的滅菌步驟,除非制造商另有說明,唇掛鉤應至少能承受250次循環處理,而無性能減弱。
2.5唇掛鉤的耐腐蝕性
唇掛鉤應耐腐蝕,即材料在2.4規定進行滅菌后,不應出現可見的腐蝕現象。
2.6安全要求
應符合GB9706.1-2007和YY 0505-2012的要求。
2.7環境試驗
應符合GB/T 14710–2009的要求。
2.8網絡安全:注冊申請人應在產品技術要求性能指標中明確數據接口、用戶訪問控制的要求(若適用):
(1)數據接口:傳輸協議/存儲格式;
(2)用戶訪問控制:用戶身份鑒別方法、用戶類型及權限。
2.9若包含其他配件(如根管銼夾/探針等),應根據其特性制定相應的性能指標。
3. 檢驗方法
3.1外觀與結構
目測,結果符合2.1的要求。
3.2定位精度(推薦方法)
3.2.1 測量裝置
3.2.1.1 離體牙等效模型,應有一個根管通道,見附錄 A。
3.2.1.2 K型標準根管銼,符合 YY 0803.1,不銹鋼材質,公稱規格為 015。
3.2.1.3 0.9%生理鹽水。
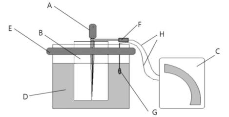
3.2.1.4 固定架,如圖 1 所示固定離體牙等效模型的支架。

說明:
A——K型標準根管銼;
B——離體牙等效模型;
C——定位儀;
D——0.9%生理鹽水;
E——固定架;
F——根管銼夾;
G——唇掛鉤;
H——測量導線。
圖1 定位精度的試驗系統
3.2.2試驗步驟
a) 如圖 1 所示,布置測試系統。
b) 把 K 型根管銼緩緩置入離體牙等效模型,直至定位儀提示到達牙根尖孔,觀察 K 型根管銼尖端是否在實際牙根尖孔±0.5mm 范圍內。
3.3牙根尖孔的識別
使用3.2的試驗系統,定位儀探測到牙根尖孔時,檢查定位儀的提示功能。
3.4唇掛鉤的耐滅菌性
測試應按制造商的說明書或其他技術文件進行。結果應符合2.2、2.3的要求。
3.5唇掛鉤的耐腐蝕性
目測,結果符合2.5的要求。
3.6安全要求
根據GB9706.1-2007、YY 0505-2012規定的方法進行試驗,應符合2.6的要求。
3.7環境試驗
根據GB/T 14710–2009規定的方法進行試驗,應符合2.7的要求。
3.8網絡安全
按照申報產品的使用特性進行操作。
3.9根據產品的實際情況,規定其他配件性能指標相應的檢測方法。
離體牙等效模型可以使用聚乙烯樹脂或其它非導電材料制作。
如圖A.1所示,離體牙等效模型的高度宜為16mm~20mm。根管通道出口(模擬牙根尖孔)直徑應為0.15mm±0.02mm。底部出口宜為圓柱形,圓直徑為3.5mm±0.2mm,高度為1mm~2mm。根管通道的形狀可以按公稱規格為015的標準根管器械(見YY0803.1-2010中5.1)設計。以根管通道出口(模擬牙根尖孔)為基準0mm,標記+0.5mm和-0.5mm的刻度。
離體牙等效模型的外部總體形狀由制造商規定,可以為長方體、圓柱體。高度宜為16mm~20mm。圖A.1中底是一個舉例,為正方形,邊長為10mm~12mm。單位為毫米

圖A.1 離體牙等效模型

站點聲明
本網站所提供的信息僅供參考之用,并不代表本網贊同其觀點,也不代表本網對其真實性負責。圖片版權歸原作者所有,如有侵權請聯系我們,我們立刻刪除。如有關于作品內容、版權或其它問題請于作品發表后的30日內與本站聯系,本網將迅速給您回應并做相關處理。
鄭州思途醫療科技有限公司專注于醫療器械產品政策與法規規事務服務,提供產品注冊備案申報代理、臨床試驗、體系建立輔導、分類界定、申請創新辦理服務。
為深入貫徹落實中共中央辦公廳、國務院辦公廳印發的《關于深化審評審批制度改革鼓勵藥品醫療器械創新的意見》(廳字〔2017〕42號),按照國家藥品監督管理局《關于擴大醫療器械
為規范醫療器械注冊人跨區域委托生產的監督管理,推進長江三角洲區域醫療器械跨區域監管,根據《中共中央辦公廳國務院辦公廳關于深化審評審批制度改革鼓勵藥品醫療器械創新的意見》《
附件:血液透析用水處理設備注冊審查指導原則(2024年修訂版)(2024年第19號).doc血液透析用水處理設備注冊審查指導原則(2024年修訂版)本指導原則旨在指導注冊申請人對血液透析用水處理設備注冊申報資料的準備及撰寫,同時也為技術審評部門提供參考。本指導原則是對血液透析用水處理設備的一般要求,注冊申請人依據產品的具體特性確定其中內容是否適用。若不適用,要具體闡述理由及相應的科學依據,并依據產
本指導原則旨在幫助和指導注冊申請人對一次性使用腹部穿刺器注冊申報資料進行準備,以滿足技術審評的基本要求。同時有助于審評機構對該類產品進行科學規范的審評,提高審評工
附件:重組膠原蛋白創面敷料注冊審查指導原則(2023年第16號).doc重組膠原蛋白創面敷料注冊審查指導原則本指導原則旨在指導注冊申請人準備及撰寫重組膠原蛋白創
國家藥監局關于發布免于臨床試驗的體外診斷試劑臨床評價技術指導原則的通告(2021年第74號)發布時間:2021-09-24為指導體外診斷試劑的臨床評價工作,根據
國家市場監督管理總局令 第47號 《醫療器械注冊與備案管理辦法》已經2021年7月22日市場監管總局第11次局務會議通過,現予公布,自2021年10月1日起施行。 附件: 醫療器械注冊與備案管
國家藥監局藥審中心關于發布《抗腫瘤藥物臨床試驗中SUSAR分析與處理技術指導原則》的通告(2024年第42號) 發布日期:20241010
國家藥監局器審中心關于發布影像型超聲診斷設備(第三類)注冊審查指導原則(2023年修訂版)的通告(2024年第29號)發布時間:2024-10-14為進一步規范
附件:一次性使用醫用沖洗器產品注冊審查指導原則(2022年第41號).doc一次性使用醫用沖洗器產品注冊審查指導原則本指導原則旨在指導注冊申請人對一次性使用醫用
行業資訊
知識分享
八年
醫療器械服務經驗
聯系思途,免費獲得專屬《落地解決方案》及報價
咨詢相關問題或咨詢報價,可以直接與我們聯系
思途CRO——醫療器械注冊臨床第三方平臺
