
服務價:¥電議
好評系數:
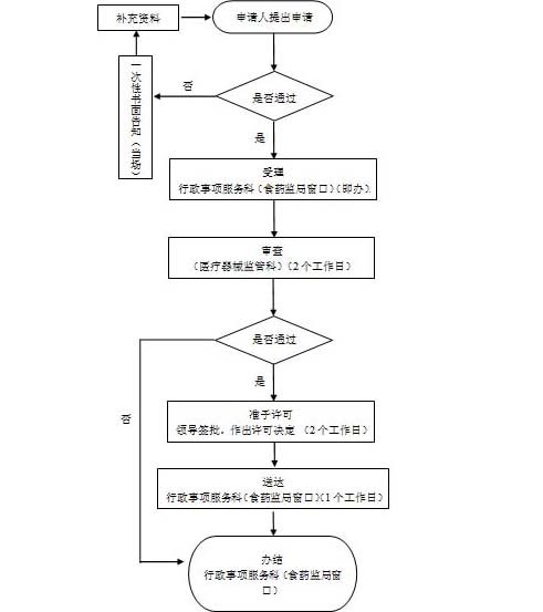
根據《體外診斷試劑注冊管理辦法》(局令5號)的規定,已備案的體外診斷試劑,備案信息表中登載內容及備案的產品技術要求發生變化的,備案人應當提交變化情況的說明及相關證明文件,向原備案部門提出變更備案信息。備案資料符合形式要求的,食品藥品監督管理部門應當將變更情況登載于變更信息中,將備案資料存檔。
注意:已備案的體外診斷試劑管理類別調整的,備案人應當主動向食品藥品監督管理部門提出取消原備案。
1、第一類體外診斷試劑備案表;
2、安全風險分析報告;
3、產品技術要求;
4、產品檢驗報告;
5、臨床評價資料;
6、產品說明書及最小銷售單元標簽設計樣稿;
7、生產制造信息;
8、證明性文件:企業營業執照復印件、組織機構代碼證復印件;
9、符合性聲明
(1)聲明符合醫療器械備案相關要求;
(2)聲明本產品符合第一類醫療器械產品目錄和相應體外診斷試劑分類子目錄的有關內容;
(3)聲明本產品符合現行國家標準、行業標準并提供符合標準的清單;
(4)聲明所提交備案資料的真實性。


備注
* 已備案的醫療器械,備案信息表中登載內容及備案的產品技術要求發生變化的,備案人應當提交變化情況的說明及相關證明文件,向原備案部門提出變更備案信息。
* 備案資料符合形式要求的,食品藥品監督管理部門應當將變更情況登載于變更信息中,將備案資料存檔。
* 已備案的醫療器械管理類別調整的,備案人應當主動向食品藥品監督管理部門提出取消原備案;
* 管理類別調整為第二類或者第三類醫療器械的,按照局令第5號規定申請注冊。
辦理第一類IVD(產品備案變更),CFDA不收取費用。
| 文件名稱 | 文號 |
|---|---|
| 《醫療器械監督管理條例》 | 650號文件 |
| 《體外診斷試劑注冊管理辦法》 | 局令5號 |
| 藥監總局辦公廳關于實施第一類醫療器械備案有關事項的通知 | 食藥監辦械管〔2014〕174號 |
立項階段
預算、合同、考慮期,3個工作日。
受理前資料準備
企業產品自檢,出具自檢報告。
資料準備時間,視實際發生為準。3個工作日
受理后
形式審查責任(2個工作日):藥監對申請材料審核,提出意見。
出具備案憑證責任(2個工作日):予以備案的出具備案憑證,不予備案的告知理由。
送達責任(1個工作日):送達備案憑證,并公開信息。
預算合計
預計一類IVD備案變更周期,在10-15個工作日。
| 一類IVD產品備案服務 | 二類IVD產品注冊服務 |
| 三類IVD產品注冊服務 | IVD產品臨床試驗服務 |

立即咨詢
最新文章
2025-09-16
2025-09-16
2025-09-16
2025-09-16
2025-09-16八年
醫療器械服務經驗
聯系思途,免費獲得專屬《落地解決方案》及報價
咨詢相關問題或咨詢報價,可以直接與我們聯系
思途CRO——醫療器械注冊臨床第三方平臺
