長江三角洲區域醫療器械注冊人制度試點工作實施方案(試行)(滬藥監械管〔2019〕112號)
為深入貫徹落實中共中央辦公廳、國務院辦公廳印發的《關于深化審評審批制度改革鼓勵藥品醫療器械創新的意見》(廳字〔2017〕42號),按照國家藥品監督管理局《關于擴大醫療器械
來源:醫療器械注冊代辦 發布日期:2019-11-15 閱讀量:次
附件:牙科種植手術用鉆注冊技術審查指導原則(2019年第79號).doc
本指導原則旨在指導注冊申請人對牙科種植手術用鉆注冊申報資料的準備及撰寫,同時也為技術審評部門審評注冊申報資料提供參考。
本指導原則是對牙科種植手術用鉆產品的一般要求,申請人應依據產品的具體特性確定其中內容是否適用,若不適用,需具體闡述理由及相應的科學依據,并依據產品的具體特性對注冊申報資料的內容進行充實和細化。

本指導原則是供申請人和審查人員使用的指導文件,不涉及注冊審批等行政事項,亦不作為法規強制執行,如有能夠滿足法規要求的其他方法,也可以采用,但應提供詳細的研究資料和驗證資料。應在遵循相關法規的前提下使用本指導原則。
本指導原則是在現行法規、標準體系及當前認知水平下制定的,隨著法規、標準體系的不斷完善和科學技術的不斷發展,本指導原則相關內容也將適時進行調整。
本指導原則適用于鋼或硬質合金制作的牙科種植手術用鉆。該產品用于口腔種植手術過程中,制備與所用種植體相匹配的種植窩洞。根據《醫療器械分類目錄》(國家食品藥品監督管理總局2017年第104號公告附件),2018年8月1日起,牙科種植手術用鉆“管理類別”為Ⅱ類,分類編碼為17-04-07口腔車針、鉆。
本指導原則不適用切削牙體組織、修復體的牙科車針,以及采用陶瓷等其他新材料制作的牙科種植手術用鉆。
(一)產品名稱要求
產品的命名應符合《醫療器械通用名稱命名規則》、《醫療器械分類目錄》等相關法規的要求,或在國家標準、行業標準上的通用名稱。產品名稱在通用名稱基礎上可帶有表示用途、結構等的特征詞,例如:牙科種植體手術用不銹鋼牙鉆、牙科種植用鉆。
注:本指導原則下文中,產品簡稱為“牙鉆”
(二)產品的結構和組成
牙鉆由桿部和工作部分組成,工作部分材質為鋼或硬質合金,如不銹鋼、鈦合金、碳化鎢,或有表面處理。
(三)產品工作原理
牙鉆一種牙科旋轉器械,有機用和手動兩種形式,其中機用牙鉆需配合牙科種植設備使用。
牙鉆主要通過端刃和(或)側刃切削。用于口腔種植手術過程中,對牙槽骨進行鉆、削等操作,制備與所用型號種植體相匹配的種植窩洞。
(四)注冊單元劃分的原則和實例
牙鉆注冊單元的劃分,原則上應參照《醫療器械注冊管理辦法》(國家食品藥品監督管理總局令第4號)第七十四條以及《醫療器械注冊單元劃分指導原則》的要求。
實例:不銹鋼材質的牙鉆與硬質合金如碳化鎢材質的牙鉆應劃分為不同注冊單元;化學成分不同的不銹鋼材質牙鉆應劃分為同一個注冊單元;臨床應用技術不同的產品應劃分為不同的注冊單元。
(五)產品適用的相關標準
表1 相關標準
| GB/T 191-2008 | 包裝儲運圖示標志 |
| GB/T 9937.3-2008 | 口腔詞匯 第3部分:口腔器械 |
| GB/T 16886.1-2011 | 醫療器械生物學評價第1部分:風險管理過程中的評價與試驗 |
| GB/T 16886.5-2017 | 醫療器械生物學評價第5部分:體外細胞毒性試驗 |
| GB/T 16886.10-2017 | 醫療器械生物學評價第10部分:刺激與遲發型超敏反應 |
| GB/T 16886.12-2017 | 醫療器械生物學評價第12部分:樣品制備與參照樣品 |
| YY/T 0268-2008 | 牙科學 口腔醫療器械生物學評價 第1單元:評價與試驗 |
| YY/T 0873.1-2013 | 牙科旋轉器械的數字編碼系統第1部分:一般特征 |
| YY/T 0874-2013 | 牙科學旋轉器械試驗方法 |
| YY/T 0967.1-2015 | 牙科旋轉器械 桿 第1部分 金屬桿 |
| YY/T 1011-2014 | 牙科旋轉器械 公稱直徑和標號 |
| YY/T 1486-2016 | 牙科學牙科種植用器械及相關輔助器械的通用要求 |
| YY 91010-1999 | 牙科旋轉器械 配合尺寸 |
| YY 91064-1999 | 牙科旋轉器械 鋼和硬質合金牙鉆技術條件 |
| ISO 1942-2009 | 《Dentistry. Vocabulary médecine bucco-dentaire. Vocabulaire second edition》 |
注:正文中引用的上述標準以其標準號表述。
上述標準包括了產品研發及注冊申報資料中經常涉及到的標準,不包括根據產品的特點所引用的一些行業外標準或其他標準。
產品適用及引用標準的審查可以分兩步來進行。首先對引用標準的齊全性和適宜性進行審查,也就是審查產品技術要求中與產品相關的國家標準、行業標準是否進行了引用,以及引用是否準確。應注意引用標準的編號、名稱是否完整規范,年號是否有效。其次對引用標準的采納情況進行審查,即所引用的標準中的條款要求,是否在產品技術要求中進行了實質性的條款引用。這種引用通常采用兩種方式,文字表述繁多內容復雜的可以直接引用標準及條文號,比較簡單的也可以直接引述具體要求。
(六)產品的適用范圍/預期用途、禁忌癥
產品用于口腔種植手術過程中,制備與所用型號種植體相匹配的種植窩洞。
禁忌癥應當明確說明該產品不適宜應用的某些疾病、情況或特定的人群。包括且不僅限于以下情形:
免疫缺陷。
精神疾病或嚴重心理障礙。
嚴重的精神系統疾病(如:中風,帕金森病,阿爾茲海默氏病)。
在牙科植入物介入前的三個月內有腫瘤和接受化療或進行放射治療的患者。
(七)產品的主要風險
牙鉆應按照YY/T 0316-2016《醫療器械 風險管理對醫療器械的應用》進行風險分析。在進行風險分析時至少應包括以下的主要危害,企業還應根據自身產品特點確定其他危害。
表2 危險(源)清單
| 能量危害(源)示例 | 生物學和化學危害(源)示例 | 操作危害(源)示例 | 信息危害(源)示例 |
| 熱能: -高溫。 機械能: -振動; -扭轉力、剪切力; -患者的移動和定位。 | 生物學的: -細菌; -病毒; -其他介質(例如:蛋白病毒); -再次或交叉感染。 化學的: -殘留物; -污染物; -加工助劑; -清潔劑、消毒劑; -工作部分接觸唾液、齦溝液和牙體組織的溶解和磨損; -材料生銹。 生物相容性: -致敏源或刺激,如鎳過敏反應。 | 功能: 不正確或不適當的輸出或功能; 功能的喪失或變壞。 使用錯誤: 缺乏注意力; 不遵守規則; 缺乏知識; 違反常規; 因產品脫落導致的吞咽或吸入。 | 標記: 不完整的使用說明書; 性能特征的不適當的描述; 不適當的預期使用規范; 局限性未充分公示。 操作說明書: 使用前檢查規范不適當; 過于復雜的操作說明。 警告: 副作用; 一次性使用醫療器械可能重復使用的危險(源); 服務和維護規范。 |
表3 危害(源)、可預見的事件序列、危害情況和可發生的傷害之間的關系
| 危害(源) | 可預見的事件序列 | 危害情況 | 傷害 |
| 能量危害(源) | |||
| 熱能; -高溫。 | 轉動切削部位性能不穩定或冷卻不夠可能導致摩擦高溫。 | 設備溫度太高而燙傷病人或操作者。 | 燙傷或骨灼傷。 |
| 機械能 -振動; -扭轉力、剪切力; -患者的移動和定位。 | 產品的同軸度不夠,引起過大的振動或擺動;工作時,產品受力過大或患者移位造成牙鉆桿部斷裂。 | 錯誤的機械能或機械力施加到病人的組織。 | 機械損傷。 |
| 生物學和化學危害(源) | |||
| 生物學的: -細菌; -病毒; -其他介質(例如:蛋白病毒); -再次或交叉感染。 | 生產環境和產品清潔未控制好導致產品受污染。使用前未進行滅菌/消毒處理。 重復性使用,造成交叉感染。缺少清潔、消毒和滅菌的經過確認的程序,或確認程序的規范不適當。 | 使用過程中細菌、病毒或其他微生物進入患者的體內。 | 細菌、病毒等感染。 |
| 化學的: -殘留物; -污染物; -加工助劑; -清潔劑、消毒劑; -工作部分接觸唾液、齦溝液和牙體組織的溶解和磨損; -材料生銹。 | 產品生產加工過程中帶來非預期物質。 使用過程中涂層脫落。 | 患者接觸到此類非預期物質。 | 毒理性傷害。 |
| 操作危害-功能 | |||
| 功能的喪失或變壞。 | 產品功能喪失。 | 使用時導致無法正常使用。 | 治療中斷。 |
| 操作危害: -使用錯誤; -不遵守規則; -缺乏知識; -違反常規。 | 錯誤地使用了產品。 | 損壞產品或產生非預期的治療結果。 | 治療中斷或失敗。 |
| 產品脫落。 | 產品功能喪失。 | 使用時導致無法正常使用。 | 治療中斷或對患者造成傷害。 |
| 重復使用。 | 產品可重復使用,但應徹底消毒或滅菌,否則有微生物殘留。 | 微生物交叉污染。 | 傳染疾病。 |
| 信息危害-標記 | |||
| 不完整的使用說明。 性能特征的不適當的描述。 | 使用說明書、標簽等設計錯誤; 標簽使用錯誤。 | 在使用、操作上誤導用戶,導致無法正常使用。 | 治療中斷或失敗。 |
| 不適當的預期使用規范。 限制未充分公示。 | 設計錯誤; 標簽使用錯誤。 | 在使用、操作上誤導用戶,導致無法正常使用。 | 治療中斷或失敗。 |
| 信息危害-操作說明書 | |||
| 使用前的檢查規范不適當。 | 操作說明中注意事項未寫明或標記不明顯; 使用已損壞的產品; 使用了受污染的產品。 | 導致無法正常使用;或出現非預期的結果,如損傷組織,微生物污染等。 | 治療中斷或失敗; 微生物感染。 |
| 信息危害-警告 | |||
| 一次性使用醫療器械可能再次使用的危害的警告 | 未寫清或標示不明顯; 重復使用。 | 使用過程中細菌進入患者的體內。 | 交叉感染。 |
(八)產品技術要求應包括的主要性能指標
參照《關于發布醫療器械產品技術要求編寫指導原則的通告》(國家食品藥品監督管理總局通告2014年第9號)的規定編寫產品技術要求。
本條款根據YY 91064-1999《牙科旋轉器械 鋼和硬質合金牙鉆技術條件》及行業現狀給出需要考慮的產品基本技術性能指標,制造商可參考相應的國家標準、行業標準,根據自身產品的技術特點制訂相應的要求,并在研究資料中提供性能指標或檢驗方法的確定依據。
1.材料
牙鉆工作部分應由符合YY/T 1486-2016標準要求的鋼質或硬質合金制成,涂層材料(若有)應由符合YY/T 1486-2016要求的材料制成,材料類型的選擇及處理方法由制造商決定。
桿部材料應符合YY/T 0967.1-2015標準的要求。
2.外觀
牙鉆的表面應平整、光滑、勻稱,不得有毛刺、裂紋、銹斑、污點等缺陷。如有刻度,應清晰可見。
3.尺寸
牙鉆各部位幾何尺寸公差應符合以下要求:
長度、工作部分直徑公差:±5%;
機用牙鉆桿部配合尺寸及公差應符合YY 91010-1999或YY/T 0967.1-2015中對1型桿的要求。
4.表面粗糙度
牙鉆桿部表面粗糙度應符合YY/T 0967.1-2015中對1型桿部的要求。
5.硬度
牙鉆頭部硬度應符合適用的標準,并根據臨床要求自行制訂。建議牙鉆的工作部分硬度應不低于450HV5;牙鉆的桿部硬度應不低于250HV5。硬度試驗應直接在最終產品的指定部位或制造商提供與其最終產品完全等同的材質和工藝加工的樣塊上進行。
6.頸部強度
牙鉆按YY/T 0874-2013中5.9的方法試驗后應不斷裂,且永久變形量應符合以下要求:
鋼質牙鉆應不超過0.08mm;
硬質合金牙鉆應不超過0.05mm。
本試驗應在滅菌熱影響前、滅菌熱影響后分別進行,其中滅菌熱影響試驗按照YY 0803.1-2010中7.8規定的方法。
7.徑向跳動
牙鉆按YY/T 0874-2013中5.8的方法試驗,其徑向跳動應符合以下要求:
鋼質牙鉆應不超過0.08mm;
硬質合金牙鉆應不超過0.05mm。
本試驗應在滅菌熱影響前、滅菌熱影響后分別進行,其中滅菌熱影響試驗按照YY 0803.1-2010中7.8規定的方法進行。
8.切削性能(如適用)
牙鉆的切削性能可分為端刃切削(如適用)、側刃切削(如適用)。制造商根據牙鉆的功能特點列出適用的切削性能試驗。
除一次性使用的無菌牙鉆外,切削試驗應在滅菌熱影響后進行,其中滅菌熱影響試驗參照YY 0803.1-2010中7.8規定的方法進行。
如按照本指導原則附錄規定的方法進行切削試驗:
端刃切削試驗時,牙鉆切削五個孔的平均時間應符合制造商技術要求的規定。
側刃切削試驗時,牙鉆切削五倍頭部直徑距離的時間應符合制造商技術要求的規定。產品如有錐形鉆頭,制造商應明確其頭部直徑。
注1:制造商在進行切削試驗時,按照適用標準或參考本指導原則附錄“切削試驗”方法進行;也可依據臨床使用操作方法(如:轉速、冷卻等因素)自行制訂切削檢驗方法,自行制訂方法應提供完整的支持性驗證資料。
注2:切削性能試驗應在以下(11)滅菌的熱影響后進行。
注3:產品適用標準及本指導原則中未涉及的牙鉆類型或其他工作端形狀之牙鉆切削性能由制造商自行制訂,自行制訂方法應提供完整的支持性驗證資料。
9.無菌
產品若無菌提供,應無菌。
若采用環氧乙烷滅菌,制造商還應規定環氧乙烷殘留量限值。
10.耐腐蝕性
牙鉆按照YY/T 0149-2006中壓力蒸汽試驗法的規定的試驗,應無被腐蝕的痕跡。
11.滅菌的熱影響(一次性使用的無菌鉆頭不適用)
經五次滅菌周期后,牙鉆的工作部分無腐蝕痕跡,桿部不發生變形。
(九)同一注冊單元內注冊檢驗代表產品確定原則和實例
1.典型產品應是同一注冊單元內能夠代表本單元內其他產品安全性和有效性的產品。
2.應考慮功能最齊全、結構最復雜、風險最高的產品,實例:在同一材料,同一類型的牙鉆中,選擇頸部載荷最大的產品檢測頸部強度。
3.如其他產品的主要性能與被檢產品不一致,則該產品也應作為典型產品進行注冊檢驗。
實例:不同工作端形狀的牙鉆應作為典型產品分別進行注冊檢驗。
(十)產品生產制造相關要求
1.應當明確產品生產工藝過程
工藝過程可采用流程圖的形式,并附有每道工序的操作說明,同時對過程控制要點進行詳細說明。生產工藝的可控性、穩定性應進行確認。
2.生產場地
應詳細說明產品生產場地地址、生產工藝布局、生產環境要求及周邊情況。有多個研制、生產場地,應當概述每個研制、生產場地的實際情況。
(十一)產品臨床評價要求
依據《國家藥品監督管理局關于公布新修訂免于進行臨床試驗醫療器械目錄的通告》(2018年第94號)附件《免于進行臨床試驗的醫療器械目錄(修訂)》(以下簡稱《目錄》),牙鉆列《目錄》第651項,產品名稱“種植手術用牙鉆”。注冊申請人需按照《醫療器械臨床評價技術指導原則》(國家食品藥品監督管理總局通告2015年第14號附件)及相關的文件要求提交臨床評價資料。
列入《目錄》的產品,注冊申請人需提交申報產品相關信息與《目錄》所述內容的對比資料和申報產品與已獲準境內注冊的《目錄》中牙鉆的對比說明,提交的資料應能證明申報產品與《目錄》所述的產品具有等同性。豁免情況不包括與已上市產品材料、技術、設計或作用機理、功能等不同的產品。
若無法證明申報產品與《目錄》產品具有等同性,則應按照《醫療器械臨床評價技術指導原則》其他要求開展相應工作。
如通過同品種醫療器械臨床試驗或臨床使用獲得的數據進行分析評價,應按照《醫療器械臨床評價技術指導原則》第六條開展。其中,數據應是合法獲得的相應數據,對于擬使用的同品種醫療器械非公開數據等,申請人應提交同品種醫療器械生產工藝、臨床數據等資料的使用授權書。
如在中國境內開展臨床試驗,基本要求應符合《醫療器械臨床試驗質量管理規范》《醫療器械臨床試驗設計指導原則》及本指導原則的要求。應對產品是否滿足使用要求或者適用范圍進行確認。提交的臨床評價資料應當包括臨床試驗協議、臨床試驗方案和臨床試驗報告等。
注:如申請人提交產品的境外臨床試驗數據,應符合《接受醫療器械境外臨床試驗數據技術指導原則》的要求。
(十二)產品的不良事件歷史記錄
牙鉆斷裂。
(十三)產品說明書和標簽要求
產品說明書和標簽應符合《醫療器械說明書和標簽管理規定》(國家食品藥品監督管理總局令第6號)的要求。
醫療器械說明書和標簽的內容應當真實、完整、準確、科學,并與產品特性相一致。醫療器械標簽的內容應當與說明書及研究資料有關內容相符合。醫療器械說明書和標簽文字內容應當使用中文,可以附加其他文種。中文的使用應當符合國家通用的語言文字規范。醫療器械說明書、標簽的文字、符號、圖形、表格、數字、照片、圖片等應當準確、清晰、規范。
說明書中應對經風險分析后,針對剩余風險控制所采取的有關告知性、警告性內容進行充分的表達。
除一次性使用的無菌牙鉆外,說明書中應推薦產品的清洗、滅菌/消毒方法(該方法應經過相應的驗證)。
應詳細說明牙鉆的安裝和使用方法、注意事項、警示以及提示的內容,明確產品禁忌癥和其他應該說明的問題,并注明聯合使用器械的要求、使用方法、注意事項。凡宣稱產品性能和特點的,應當有產品技術要求或提交的注冊技術資料依據。不使用“主要”、“等”、“無毒”等表述模糊和絕對性用詞。
說明書不得有以下內容:
1.含有“最高技術”、“最先進”等絕對化的語言;
2.與其他企業產品的功效和安全性能相比的語言;
3.含有“保險公司保險”等承諾性的語言;
4.利用任何單位或個人名義、形象作證明或者推薦;
5.法律、法規規定禁止的其他內容。
(十四)產品的研究要求
1.產品性能研究
應當提供產品性能研究資料以及產品技術要求的研究和編制說明,包括功能性、安全性指標以及與質量控制相關的其他指標的確定依據,所采用的標準或方法、采用的原因及理論基礎。
應說明產品材料的選擇依據、材料來源,對所選用的材料應當進行質量控制并符合相關材料標準要求,材料應當具有穩定的供貨渠道以保證產品質量。對外購材料應當評估供方資質,提供材料的供方名錄。建議在研究資料中同時提供產品結構示意圖。
若對產品進行表面處理,應當提供表面處理工藝技術資料并對其表面特征進行表征;應當提供表面處理方法、表面形態特征與產品安全性、有效性關系的研究資料。
2.生物相容性評價研究
應參照GB/T 16886、YY/T 0268等適用標準對成品中與患者直接接觸的材料的生物安全性進行評價。評價資料應包括:生物相容性評價的依據和方法、所用材料的描述及與人體接觸的性質、論證實施或豁免生物學試驗的理由、對于現有數據或試驗結果的評價。評價的試驗項目應至少包括:細胞毒性、皮膚刺激、皮內反應。
3.滅菌/消毒工藝研究
產品通常以非無菌狀態交付,由終端用戶滅菌/消毒。
制造商應向醫療機構提供經過確認的滅菌/消毒方式,若該滅菌/消毒方式為行業內通用,那么制造商應提交滅菌/消毒過程對產品性能影響的相關驗證資料;若該滅菌/消毒方式行業內不通用,那么制造商除提交該過程對產品性能影響的相關驗證資料外,還應當對滅菌/消毒效果進行確認,并提交相關資料。
4.產品有效期和包裝研究
產品為無源器械,若重復使用產品,應當提供重復使用驗證資料。
產品有效期驗證可依據有關適用的國內、國際標準和驗證方案進行,提交產品的有效期驗證報告。產品有效期可采用實時老化研究、加速老化研究驗證。
在有效期研究中,應監測整個有效期內確保產品安全性和有效性的關鍵參數如在產品技術要求中所描述的參數(如外觀、頸部強度、徑向跳動、切削性能(如適用)、耐腐蝕性、滅菌的熱影響等),并提交所選擇測試方法的驗證資料。
若選擇實時老化有效期驗證試驗,產品選擇的老化環境條件應不低于產品說明書宣稱的貯存、運輸環境條件。
若選擇加速老化有效期驗證試驗,應說明所用加速條件的合理性。在進行加速老化試驗研究時應注意:產品選擇的環境條件的老化機制應與宣稱的貯存、運輸環境條件下產品老化的機制相匹配。建議合理選擇時間點,進行充分驗證。
產品包裝驗證可依據有關適用的國內、國際標準和驗證方案進行,如:產品包裝的跌落試驗、振蕩試驗、極端溫度試驗、極端濕度試驗等,提交產品的包裝驗證報告。包裝材料的選擇建議考慮以下因素:包裝材料的物理化學性能;包裝材料與產品的適應性;包裝材料與成型和密封過程的適應性;包裝材料所能提供的物理、化學保護;包裝材料與標簽系統的適應性;包裝材料與貯存運輸過程的適合性。包裝驗證的資料內容應與包裝說明中給出的信息相符。對于不適用的因素應闡述不適用的依據。
對于包裝的有效期驗證,建議申請人提交最終成品初包裝的初始完整性和維持完整性的驗證結果。
若為非無菌包裝,則產品的包裝應能保證在運輸儲運條件下保持完整;若為無菌包裝,則產品的包裝在滅菌有效期內以及運輸儲運條件下應保持完整。
5.其他資料
證明產品安全性、有效性的其他研究資料。
(一)產品名稱應符合《醫療器械通用名稱命名規則》的要求。
(二)產品技術要求編寫的規范性,引用標準的適用性、準確性,內容是否符合行業標準的要求,是否齊全,是否為現行有效版本。
(三)應審查產品使用說明書與標簽是否符合《醫療器械說明書和標簽管理規定》(國家食品藥品監督管理總局令第6號)的要求。
(四)注冊檢測報告中所檢測型號的產品應當是本注冊單元內能夠代表申報的其他型號產品安全性和有效性的典型產品。
(五)應關注臨床評價資料中,對比產品與申報產品的基本工作原理、結構組成、適用范圍等是否實質性等同。存在差異的,應對是否會帶來新的風險及影響預期應用做出評價。
(六)注冊資料均應提供完整的支持性驗證資料。
浙江省醫療器械審評中心
附錄
1.1端刃切削
1.1.1測試儀器
儀器為天平式,如圖1所示。

圖1
1.1.2測試方法
牙鉆夾裝于臺鉆床或其他類似設備。將被切削試件置于臺面一端,經調整水平后,載荷F2施加于臺面另一端。鉆頭垂直方向鉆孔,至鉆穿被切削試件時為止,其轉速按照產品說明書的規定、載荷F2按表1的規定進行試驗。試驗時不用潤滑劑。記錄鉆5個孔時間的平均值,結果應符合制造商技術要求的規定。
表1
| 被切削試件 | 端刃切削孔數 | 適用牙鉆 | ||||||
| 材料 | 厚度 t mm | 鋼 | 硬質合金 | |||||
| 轉速r/min | 載荷F2 | 轉速r/min | 載荷F2 | |||||
| N | kgf | N | kgf | |||||
| 聚甲基丙烯酸甲酯板材 | 3 | 5 | 見產品說明書 | 9.80 | 1 | 見產品說明書 | 2.94 | 0.3 |
1.1.3結果報告
制造商根據牙鉆的功能特點區分適用的切削性能試驗。并將測試結果按表2的要求進行報告。
表2
| 牙鉆頭部材料、形狀及標號 | 端刃最大切削時間 s | 轉速r/min |
1.2側刃切削
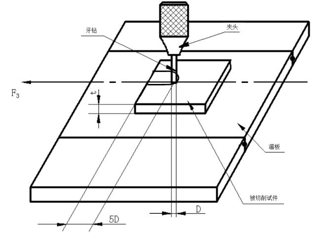
1.2.1測試儀器
儀器為滾珠導軌式;儀器的運動機構為牙鉆垂直定位旋轉,滾珠導軌式溜板水平移動,如圖2所示。

圖2
1.2.2測試方法
牙鉆垂直夾裝于臺鉆床或其他類似設備。試驗前先測出滾珠溜板的啟動推力(一般不超過20g)。將被切削試件置于溜板臺面上,載荷F3施加于溜板一端,縱向移動進行切削,其轉速按照產品說明書的規定、載荷F3按表3的規定進行試驗,試驗時不用潤滑劑。計算側削5D距離的時間,結果應符合制造商技術要求的規定。
表3
| 被切削試件 | 側刃切削距離 mm | 適用牙鉆 | ||||||
| 材料 | 厚度 t mm | 鋼 | 硬質合金 | |||||
| 轉速r/min | 載荷F2 | 轉速r/min | 載荷F2 | |||||
| N | kgf | N | kgf | |||||
| 聚甲基丙烯酸甲酯板材 | 1 | 5D* | 見產品說明書 | 4.90 | 0.5 | 見產品說明書 | 2.94 | 0.3 |
| 注1:D為牙鉆頭部的最大直徑。 | ||||||||
| 注2:側刃切削試驗的載荷按表3規定值加上儀器溜板啟動推力。 | ||||||||
1.2.3結果報告
制造商根據牙鉆的功能特點區分適用的切削性能試驗,并將測試結果按表4的要求進行報告。
表4
| 牙鉆頭部材料、形狀及標號 | 側刃最大切削時間 s | 轉速r/min |

站點聲明
本網站所提供的信息僅供參考之用,并不代表本網贊同其觀點,也不代表本網對其真實性負責。圖片版權歸原作者所有,如有侵權請聯系我們,我們立刻刪除。如有關于作品內容、版權或其它問題請于作品發表后的30日內與本站聯系,本網將迅速給您回應并做相關處理。
鄭州思途醫療科技有限公司專注于醫療器械產品政策與法規規事務服務,提供產品注冊備案申報代理、臨床試驗、體系建立輔導、分類界定、申請創新辦理服務。
為深入貫徹落實中共中央辦公廳、國務院辦公廳印發的《關于深化審評審批制度改革鼓勵藥品醫療器械創新的意見》(廳字〔2017〕42號),按照國家藥品監督管理局《關于擴大醫療器械
為規范醫療器械注冊人跨區域委托生產的監督管理,推進長江三角洲區域醫療器械跨區域監管,根據《中共中央辦公廳國務院辦公廳關于深化審評審批制度改革鼓勵藥品醫療器械創新的意見》《
附件:血液透析用水處理設備注冊審查指導原則(2024年修訂版)(2024年第19號).doc血液透析用水處理設備注冊審查指導原則(2024年修訂版)本指導原則旨在指導注冊申請人對血液透析用水處理設備注冊申報資料的準備及撰寫,同時也為技術審評部門提供參考。本指導原則是對血液透析用水處理設備的一般要求,注冊申請人依據產品的具體特性確定其中內容是否適用。若不適用,要具體闡述理由及相應的科學依據,并依據產
本指導原則旨在幫助和指導注冊申請人對一次性使用腹部穿刺器注冊申報資料進行準備,以滿足技術審評的基本要求。同時有助于審評機構對該類產品進行科學規范的審評,提高審評工
附件:重組膠原蛋白創面敷料注冊審查指導原則(2023年第16號).doc重組膠原蛋白創面敷料注冊審查指導原則本指導原則旨在指導注冊申請人準備及撰寫重組膠原蛋白創
國家藥監局關于發布免于臨床試驗的體外診斷試劑臨床評價技術指導原則的通告(2021年第74號)發布時間:2021-09-24為指導體外診斷試劑的臨床評價工作,根據
國家市場監督管理總局令 第47號 《醫療器械注冊與備案管理辦法》已經2021年7月22日市場監管總局第11次局務會議通過,現予公布,自2021年10月1日起施行。 附件: 醫療器械注冊與備案管
國家藥監局藥審中心關于發布《抗腫瘤藥物臨床試驗中SUSAR分析與處理技術指導原則》的通告(2024年第42號) 發布日期:20241010
國家藥監局器審中心關于發布影像型超聲診斷設備(第三類)注冊審查指導原則(2023年修訂版)的通告(2024年第29號)發布時間:2024-10-14為進一步規范
附件:一次性使用醫用沖洗器產品注冊審查指導原則(2022年第41號).doc一次性使用醫用沖洗器產品注冊審查指導原則本指導原則旨在指導注冊申請人對一次性使用醫用
行業資訊
知識分享
八年
醫療器械服務經驗
聯系思途,免費獲得專屬《落地解決方案》及報價
咨詢相關問題或咨詢報價,可以直接與我們聯系
思途CRO——醫療器械注冊臨床第三方平臺
