長江三角洲區域醫療器械注冊人制度試點工作實施方案(試行)(滬藥監械管〔2019〕112號)
為深入貫徹落實中共中央辦公廳、國務院辦公廳印發的《關于深化審評審批制度改革鼓勵藥品醫療器械創新的意見》(廳字〔2017〕42號),按照國家藥品監督管理局《關于擴大醫療器械
來源:醫療器械注冊代辦 發布日期:2013-10-23 閱讀量:次
附件:義齒制作用合金產品注冊技術審查指導原則(2013年第8號).doc
本指導原則旨在指導和規范義齒制作用合金產品的技術審評工作,幫助審評人員理解和掌握該類產品原理/機理、結構、性能、預期用途等內容,把握技術審評工作基本要求和尺度,對產品安全性、有效性作出系統評價。
本指導原則所確定的核心內容是在目前的科技認識水平和現有產品技術基礎上形成的,因此,審評人員應注意其適宜性,密切關注適用標準及相關技術的最新進展,考慮產品的更新和變化。
本指導原則不作為法規強制執行,不包括行政審批要求。但是,審評人員需密切關注相關法規的變化,以確認申報產品是否符合法規要求。
本指導原則適用于義齒制作用合金。
本指導原則所稱的義齒制作用合金屬于《醫療器械分類目錄》中6863-7金屬、陶瓷類義齒材料,管理類別為Ⅱ類。
本指導原則不適用于牙科銀汞合金、牙科種植體合金、牙科種植體基臺合金、牙科焊接合金、正畸用金屬合金、牙科器械用合金。
(一) 產品名稱的要求
義齒制作用合金的命名應至少包含產品的主要成分和功能,對于制作工藝、產品形態等不作強行規定。例如:鎳鉻烤瓷合金、鈷鉻支架合金、鑄造金鈀烤瓷合金、鑄造鎳鉻冠橋合金、鈷鉻烤瓷合金、鈷鉻烤瓷合金粉(燒結用)等。
(二) 產品的結構和組成
應標明質量分數大于1.0%的合金元素名稱(或符號)。例如:鎳鉻烤瓷合金主要由鎳(Ni)、鉻(Cr)、鉬(Mo)、硅(Si)元素組成,并含少量的錳(Mn)、鐵(Fe)、鎵(Ga)。
(三)產品的工作原理
利用金屬良好的機械性能、化學穩定性、物理性能、加工性能,產品經過鑄造、切削、燒結、烤瓷等工藝制成定制式義齒。
(四)產品適用的相關標準
表1 相關產品標準
| 標準編號 | 標準名稱 |
| GB/T 1.1-2009 | 《標準化工作導則 第1部分:標準的結構和起草規則》 |
| GB/T 191-2008 | 《包裝貯運圖示標志》 |
| GB/T 222-2006 | 《鋼的成品化學成分允許偏差》 |
| GB/T 228.1-2010 | 《金屬材料 拉伸試驗 第1部分:室溫試驗方法》 |
| GB/T 230.1-2009 | 《金屬材料洛氏硬度試驗 第1部分:試驗方法(A、B、C、D、E、F、G、H、K、N、T標尺)》 |
| GB/T 1423-1996 | 《貴金屬及其合金密度的測試方法》 |
| GB/T 1425-1996 | 《貴金屬及其合金熔化溫度范圍的測定 熱分析試驗方法》 |
| GB/T 2828.10-2010 | 《計數抽樣檢驗程序 第10部分:GB/T 2828計數抽樣檢驗系列標準導則》 |
| GB/T 3850-1983 | 《致密燒結金屬材料與硬質合金密度測定方法》 |
| GB/T 4339-2008 | 《金屬材料熱膨脹特征參數的測定》 |
| GB/T 4340.1-2009 | 《金屬材料 維氏硬度試驗 第1部分:試驗方法》 |
| GB 8653-2007 | 《金屬楊氏模量、弦線模量、切線模量和泊松比試驗方法(靜態法)》 |
| GB/T 9937.2-2008 | 《口腔詞匯 第2部分:口腔材料》 |
| GB/T 16886.1-2011 | 《醫療器械生物學評價 第1部分:風險管理過程中的評價與試驗》 |
| GB/T 16886.3-2008 | 《醫療器械生物學評價 第3部分:遺傳毒性、致癌性和生殖毒性試驗》 |
| GB/T 16886.5-2003 | 《醫療器械生物學評價 第5部分:體外細胞毒性試驗》 |
| GB/T 16886.10-2005 | 《醫療器械生物學評價 第10部分:刺激與遲發型超敏反應試驗》 |
| GB/T 16886.11-2011 | 《醫療器械生物學評價 第11部分:全身毒性試驗》 |
| GB/T 17168-2008 | 《牙科鑄造貴金屬合金》 |
| YY 0620-2008 | 《牙科學 鑄造金合金》 |
| YY 0621-2008 | 《牙科金屬 烤瓷修復體系》 |
| YY 0626-2008 | 《貴金屬含量25%-75%的牙科鑄造合金》 |
| YY/T 0127.4-2009 | 《口腔醫療器械生物學評價 第2單元: 試驗方法 骨埋植試驗》 |
| YY/T 0127.9-2009 | 《口腔醫療器械生物學評價 第2 單元:試驗方法 細胞毒性試驗:瓊脂擴散法及濾膜擴散法》 |
| YY/T 0127.10-2009 | 《口腔醫療器械生物學評價 第2單元:試驗方法 鼠傷寒沙門氏桿菌回復突變試驗(Ames試驗)》 |
| YY/T 0127.13-2009 | 《口腔醫療器械生物學評價 第2單元:試驗方法 口腔粘膜刺激試驗》 |
| YY/T 0127.15-2009 | 《口腔醫療器械生物學評價 第2單元:試驗方法 亞急性和亞慢性全身毒性試驗:經口途徑》 |
| YY/T 0268-2008 | 《牙科學 口腔醫療器械生物學評價 第1單元:評價與試驗》 |
| YY/T 0466.1-2009 | 《醫療器械 用于醫療器械標簽、標記和提供信息的符號 第1部分:通用要求》 |
| YY/T 0528-2009 | 《牙科金屬材料 腐蝕試驗方法》 |
| ISO 1562:2004 | Dentistry—Casting gold alloys |
| ISO 9693:2006 | Metal—Ceramic dental restorative systems |
| ISO 10271:2001 | Dental metallic materials—Corrosion test methods |
| ISO 22674:2006 | Dentistry—Metallic materials for fixed and removable restorations and appliances |
上述標準包括了注冊產品標準中經常引用到的標準。應允許企業根據產品的特點和用途,引用適宜的其他國際標準或行業外的標準。
產品適用及引用標準的審查可以分兩步來進行。首先對引用標準的齊全性和適宜性進行審查,也就是在編寫注冊產品標準時與產品相關的國家、行業標準是否進行了引用,以及引用是否準確。可以通過對注冊產品標準中“規范性引用文件”是否引用了相關標準,以及所引用的標準是否適宜來進行審查。此時,應注意標準編號、標準名稱是否完整規范,年代號是否有效。
其次對引用標準的采納情況進行審查。即所引用的標準中的條款要求,是否在注冊產品標準中進行了實質性的條款引用。這種引用通常采用兩種方式,文字表述繁多內容復雜的可以直接引用標準及條文號,比較簡單的也可以直接引述具體要求。
(五)產品的預期用途
在本指導原則中,依據機械性能(見下表3)將金屬材料分為6種類型,這6種類型金屬材料的預期用途舉例如下:
—0型:用于承受低應力的單牙固定修復體,如小貼面單面嵌體、貼面冠。
注:用電解成型法或燒結法制作金屬烤瓷冠用的金屬材料屬于0型。
—1型:用于承受低應力的單牙固定修復體,如有貼面或無貼面的單面嵌體、貼面冠。
—2型:用于單牙固定修復體,如冠和嵌體(不限制表面數量)。
—3型:用于多單位固定修復體,如橋。
—4型:用于承受極高應力的附有薄型部件的修復體,如可摘局部義齒、卡環、薄貼面冠、跨度大或橫截面小的橋體、桿、附著體以及種植體的上部結構。
—5型:用于需要高硬度和高強度的修復體,如薄的可摘局部義齒、橫截面小的部位、卡環。
(六)產品的主要風險
義齒制作用合金應符合YY/T 0316-2008《醫療器械 風險管理對醫療器械的應用》的有關要求,審查要點包括:
1.產品定性定量分析是否準確;
2.危害分析是否全面;
3.風險可接收準則,降低風險的措施及采取措施后風險的可接收程度,是否有新的風險產生。
根據YY/T 0316-2008附錄E列舉了“義齒制作用合金”可能存在的危害分析見下表2,企業還應根據自身產品特點確定其他危害。針對產品的各項風險,企業應采取應對措施,確保風險降到可接受的程度。
表2 危害分析舉例
| 危害類型 | 危害的形成因素 | 危害處境 | 可能的后果 |
| 能量危害 | 原材料不符合要求、配料不正確 | 材料強度不夠 | 無法正常使用,操作失敗 |
| 生物學危害 | 生物個體差異 | 生物不相容(金屬離子過敏) | 牙齦刺激、紅腫、過敏等 |
| 未按照生產工藝配方而引入有害元素 | 不正確的配方 | 牙齦刺激、紅腫、過敏等 | |
| 環境危害 | 未按照規定存儲或運行 | 存儲或運行偏離規定環境條件 | 無法正常使用,操作失敗 |
| 意外磕碰或者咀嚼過硬食物 | 意外的機械破壞 | 崩瓷、卡環變形、斷裂等 | |
| 與醫療器械使用有關的危害 | 操作說明不規范 | 不適當的操作說明 | 無法正常使用,操作失敗 |
| 操作者不熟悉 | 由不熟練/未經培訓的人員使用 | 無法正常使用,操作失敗 | |
| 生物個體差異 | 對副作用的警告不充分 | 牙齦刺激、紅腫、過敏等 | |
| 加工過程中的危害 | 鑄造、噴砂、打磨等過程中吸入粉塵 | 粉塵危害 | 呼吸系統疾病、塵肺病等 |
(七)產品的主要技術指標
本章給出義齒制作用合金產品需要考慮的基本技術性能指標,企業可參考相應的標準,根據企業自身產品的技術特點和用途制定相應的性能指標。如國家標準中有不適用條款,企業在標準的編制說明中必須說明理由。
1.外觀尺寸:應明確產品外觀尺寸要求。
2.化學成分:
(1)主要元素:至少標明大于1.0%(質量分數)的成分含量,精確至0.1%。0.1%~1.0%之間的成分需標出名稱或符號。
(2)允許成分偏差:貴金屬及銀合金中每種成分含量與標明值偏差不大于0.5%。非貴金屬含量大于20%的成分與標明值偏差不大于2.0%,1.0%~20%的成分與標明值偏差不大于1.0%。
(3)有害元素:鈹≤0.02%,鎘≤0.02%,另外鎳>0.1%需要指出含量,精確至0.1%。
3.機械性能:
(1)金屬材料的機械性能要求:見下表3。
表3 金屬材料的機械性能
| 類型 | 0.2%規定非比例延伸 強度Rp0.2(MPa) | 斷裂延伸率(%) | 彈性模量(GPa) |
| 0 | - | - | - |
| 1 | ≥80 | ≥18 | - |
| 2 | ≥180 | ≥10 | - |
| 3 | ≥270 | ≥5 | - |
| 4 | ≥360 | ≥2 | - |
| 5 | ≥500 | ≥2 | ≥150 |
(2)金瓷結合強度:生物材料與至少一種指定陶瓷的分離/斷裂起始強度應大于25Mpa(此要求僅適用于金屬-烤瓷修復體用金屬材料)。
4.物理性能:
(1)密度:與標明值偏差不大于±5%。
(2)固相線和液相線溫度或熔點:1200℃以上,與標明值偏差不大于±50℃,1200℃以下,與標明值偏差不大于±20℃。
(3)維氏硬度:與標明值偏差不大于±10%。
(4)線脹系數:與標明值偏差不大于0.5×10-6K-1(此要求僅適用于金屬-烤瓷修復體用金屬材料)。
5.化學性能:
(1)耐腐蝕性:金屬材料在(37±1)℃、(7.0±0.1)d釋放到指定溶液中的總金屬離子不超過200μg/cm2。
(2)抗晦暗:暴露到指定的晦暗環境,如僅有極輕微的顏色改變,并輕輕擦刷即可很容易地除去合金上的銹蝕物,則產品可以描述為“抗晦暗”。
6.生物相容性:
按YY/T 0268-2008《牙科學 口腔醫療器械生物學評價 第1單元:評價與試驗》要求進行。一般要求評價產品的:
(1)細胞毒性
(2)口腔粘膜刺激性(或皮內反應)
(3)急性全身毒性(經口途徑)
(4)遲發型超敏反應
(5)亞慢性(亞急性)全身毒性(經口途徑)(暫不對貴金屬合金提出此要求)
(6)遺傳毒性
(八)產品的檢測要求
產品的檢測包括出廠檢驗和型式檢驗。
1.出廠檢驗:出廠檢驗項目至少應包括上述主要技術指標中的1、2、4(1)、4(3)四項。
2.型式檢驗:型式檢驗由有資質的檢驗機構進行。型式檢驗時,按相應的標準要求進行,所有適用條款應全部合格。
3.試驗方法
3.1 外觀尺寸
用游標卡尺、千分尺或其他通用量具進行測量。
3.2 化學成分
化學成分按GB/T 15072.1—20 貴金屬合金化學分析方法進行試驗或使用標準分析方法(EDS、AAS、ICP-AES/MS、ICP-AOS/MS)進行試驗。
3.3 機械性能
(1)金屬材料的機械性能:

按照圖1制備6個標準試樣進行試驗,制備試樣時需要避免熱縮孔等缺陷。對于明顯離群數據,應判斷是否為試樣的缺陷導致。使用萬能力學性能試驗機,以(1.5±0.5)mm/min的十字頭速率對樣品施加載荷,直到樣品斷裂,用機械引伸計或激光引伸計測試并計算0.2%規定非比例延伸強度。
在試驗中斷裂的同一樣品上測定斷裂延伸率。
采用力學試驗的試件,方法同0.2%非比例延伸極限強度。根據引伸計的延伸記錄和試驗機的應力記錄計算出彈性模量。
若4個或4個以上試樣符合要求,計算這些試樣的平均值,作為這些試樣的0.2%規定非比例延伸強度。
若符合要求的試樣少于4個,應重新進行試驗。
若在重新試驗中,符合要求的試樣仍少于4個,則該金屬材料此項不合格。
(2)金瓷結合強度:
按廠家提供的制作金屬-烤瓷修復體的金屬基體的加工程序說明書制備6個合金/金屬試樣,尺寸為(25±1)mm×(3±0.1)mm×(0.5±0.05)mm。按說明書對試樣進行預處理;然后再按廠家說明書,將遮色底瓷對稱地涂覆在每個金屬試樣的3mm寬的一側表面上,遮色底瓷長(8±0.1)mm;在每個試樣上再涂覆牙本質瓷,使燒結后烤瓷的總厚度為(1.1±0.1)mm,陶瓷的形狀為長方形。然后按說明書對每個試樣進行上釉燒結。

圖2 金屬-烤瓷試樣示意圖
將燒結完成的試樣放在萬能力學性能試驗機上(兩支點間距離20mm,壓頭刃口曲率半徑1.0mm),試樣的烤瓷面對稱地位于加荷面的反面。以(1.5±0.5)mm/min的恒定速率施力,記錄力值,直至斷裂。測量6個試樣中每個試樣的烤瓷層的一端發生剝離時的斷裂力Ffail(N)。若試樣是從烤瓷層的中間開裂,則應舍棄該試樣,重新制備試樣并試驗,直至完成6個試樣的測試。
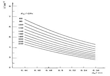
斷裂力Ffail得乘以一個常數k,常數k能從圖3中找到。常數k是金屬底層dM(0.5±0.05)mm厚度的函數,即使用的金屬材料的楊氏模數Em的值。
為了從某一厚度dM找k的值,首先對適當的EM值選擇曲線,然后從厚度dM選擇的曲線找到k的值。

圖3 確定作為金屬基體厚度dM和金屬材料楊氏模量EM的函數的系數k的曲線圖
剝離/初始斷裂強度τb使用公式計算:τb=k. Ffail
如果4個或4個以上的樣品能滿足要求,金屬-陶瓷體系通過測試。
如果少于4個樣品能滿足要求,重新試驗。
如果再一次少于4個樣品能滿足要求,那么金屬-陶瓷體系沒有通過測試。
3.4 物理性能
(1)密度:
按照GB/T1423-1996《貴金屬及其合金密度的測試方法》或GB/T 3850-1983 《致密燒結金屬材料與硬質合金密度測定方法》或其他標準方法進行試驗。
(2)固相線和液相線溫度或熔點:
按照GB/T 1425-1996 《貴金屬及其合金熔化溫度范圍的測定 熱分析試驗方法》進行試驗;或采用冷卻曲線法、差熱分析(DTA)或其他精度為10℃的方法進行試驗。
對于鈦和其他純金屬,可采用熔點、線熱膨脹和密度的受控文獻數據。
(3)維氏硬度:
維氏硬度按照GB/T 4340.1-2009《金屬材料 維氏硬度試驗 第1部分:試驗方法》進行試驗。
(4)線脹系數:
按加工說明書,制備2個金屬試樣,試樣為棒狀或條狀,橫截面積約30 mm2~65mm2(例如長20mm ~25mm,直徑為6mm~8mm的圓柱或截面邊長為8mm的矩形試樣),磨平試樣的兩端,兩端互相平行并垂直于試樣的中軸。
分別制備4個遮色底瓷、4個牙本質瓷和4個牙釉質瓷試樣。其中,每種瓷粉的2個試樣在真空下燒結1次,再在大氣壓力下的空氣中燒結1次。每種瓷粉的另外2個試樣在真空中燒結3次,在大氣壓力下的空氣中再燒結1次。
用熱膨脹儀分別測量每個試樣,熱膨脹儀以5℃/min的升溫速率加熱,直至達到軟化點溫度。從測量得到的繪圖曲線或膨脹-溫度曲線的記錄值確定每個樣品從25℃到500℃之間的線脹系數。
計算并報告金屬材料在25℃~500℃之間的線脹系數α25℃~500℃的平均值和分別經2次燒結和4次燒結的陶瓷在25℃~500℃之間的線脹系數α25℃~500℃的平均值。精確到0.1×10-6/K。
對于鈦和其他純金屬,可采用線熱膨脹的受控文獻數據。
3.5 化學性能
(1)耐腐蝕性:
按照YY/T 0528-2009《牙科金屬材料腐蝕試驗方法》進行試驗。
(2)抗晦暗:
暴露到試驗的晦暗環境后,如果僅有極輕微的顏色改變,并經輕輕地擦刷即可很容易地去除合金上的銹蝕物,則產品具有抗晦暗性。
按說明書制備2個抗晦暗試驗樣品,直徑約為10mm,至少0.5mm厚;對試樣用標準金相制樣方法磨樣和拋光;在乙醇中超聲波清洗樣品2min,用水漂洗樣品,并用無油無水空氣吹干。在溫度為(23±2)℃將試樣夾持在能每分鐘將樣品浸入抗晦暗試驗溶液中10~15s的裝置上,在容器中放入用分析純的水和硫化鈉現配制的0.1mol/L的硫化鈉溶液,將樣品浸沒。開啟試樣裝置,試驗持續(72±2)h。分別在(24±1)h和(48±1)h更換試驗溶液,在(72±2)h從浸泡裝置中取出樣品,用水徹底清洗樣品,把樣品浸泡在乙醇中,然后取出用無油無水的空氣吹干。
在正常或無放大作用的矯正視力、至少1000lx的光照度和不超過25cm的距離下目視檢查,比較經試驗和未經試驗樣品表面的損蝕差別。
3.6生物相容性
依據標準YY/T 0268-2008的規定按照附錄A中表面接觸器械C類選擇試驗項目進行生物學評價。
(1)細胞毒性試驗:
按照標準GB/T 16886.5-2003 《醫療器械生物學評價 第5部分:體外細胞毒性試驗》或YY/T 0127.9-2009 《口腔醫療器械生物學評價 第2單元:試驗方法 細胞毒性試驗》:瓊脂擴散法及濾膜擴散法進行試驗。
(2)口腔粘膜刺激性(或皮內反應)試驗:
口腔粘膜刺激性按照標準YY/T 0127.13-2009 《口腔醫療器械生物學評價 第2單元:試驗方法 口腔粘膜刺激試驗》進行試驗。
皮內反應試驗按照標準GB/T 16886.10-2005 《醫療器械生物學評價 第10部分:刺激與遲發型超敏反應試驗》進行試驗。
(3)急性全身毒性(經口途徑)試驗:
按照標準GB/T 16886.11-2011 《醫療器械生物學評價 第11部分:全身毒性試驗》進行試驗。
(4)遲發型超敏反應試驗:
按照標準GB/T 16886.10-2005 《醫療器械生物學評價 第10部分:刺激與遲發型超敏反應試驗》進行試驗。
(5)亞慢性(亞急性)全身毒性(經口途徑)試驗(暫不對貴金屬合金提出此要求):
按照標準YY/T 0127.15-2009 《口腔醫療器械生物學評價 第2單元:試驗方法 亞急性和亞慢性全身毒性試驗:經口途徑》進行試驗。
(6)遺傳毒性試驗:
按照標準GB/T 16886.3-2008 《醫療器械生物學評價 第3部分:遺傳毒性、致癌性和生殖毒性試驗》或YY/T 0127.10-2009 《口腔醫療器械生物學評價 第2單元:試驗方法 鼠傷寒沙門氏桿菌回復突變試驗(Ames試驗)》進行試驗。
(九)產品的臨床要求
1. 若申報準產注冊的義齒制作用合金產品,其主要化學成分和功能與已上市產品相同的,企業可以不提交臨床試驗資料,但應提交與已上市同類產品(同類產品合法上市,其注冊證在有效期之內)的對比說明,并得出與已上市的同類產品實質性等同的結論,其內容一般包括:
(1)產品的基本原理、臨床預期用途(如使用的目的、對象、方法、環境等);
(2)產品的化學成分及質量分數、主要性能指標(如維氏硬度,固相線和液相線溫度或熔點,機械性能,耐腐蝕性等);
(3)產品使用方法、使用中的禁忌、警告內容等。
注:已上市的同類產品是指經食品藥品監督管理部門許可批準的產品,并提交該產品的注冊證及注冊登記表所列相關信息。
2. 若申報準產注冊的義齒制作用合金產品,其主要化學成分和功能在市場上沒有相同產品注冊上市的,企業應進行臨床試驗,并應符合《醫療器械臨床試驗規定》及《醫療器械注冊管理辦法》附件12的要求,同時可參考《無源植入性醫療器械產品注冊申報資料指導原則》。考慮到義齒制作用合金在型式試驗中已根據YY/T 0268-2008附錄A中,表面接觸器械C類選擇試驗項目進行了生物相容性試驗,因此臨床試驗應主要考慮評價義齒制作用合金對義齒臨床性能的實現及影響。
2.1臨床試驗的目的
義齒制作用合金在進行臨床試驗時,應明確敘述其臨床試驗目的,確保試驗結果能夠被直接觀察。且檢測指標應客觀,且偏倚誤差最小,與義齒的臨床功能有直接聯系。
2.2臨床試驗的樣本量、受試者納入標準及排除標準
2.2.1 樣本量
應給出總樣本量及樣本量的計算方法,同時應列出每病種臨床試驗例數及其確定理由。在多中心臨床試驗中,每個臨床試驗機構的最低和最高的受試者數量。
2.2.2納入及排除標準
應當在臨床研究方案中規定完善合理的受試者納入標準及排除標準;原則上,對不符合納入標準及符合排除標準的入選者應當予剔除。臨床試驗中,所選擇的病例應能代表并充分反映注冊單元的臨床使用范圍。同時,對受試者的描述包括并不只限于以下條目:
(1)姓名、性別、年齡等基本信息;
(2)藥物史、疾病史等的健康狀況潛在因素;
(3)肝功、腎功等生理生化檢查指標;
(4)黏膜、咬合、牙體或牙列缺失缺損等口腔內軟硬組織的情況;
(5)是否有不良咬合習慣、不良嗜好等;
(6)知情同意的相關信息。
2.3 臨床試驗的檢查項目
臨床試驗的檢查項目應能充分體現義齒制作用合金用于義齒制作后,合金性能對義齒臨床指標的影響。主要檢查項目包括并不只限于下列條目:
2.3.1固定義齒
(1)適合性:臨床檢查固定義齒金屬部分精度是否滿足臨床要求,包括邊緣密合、就位正常等。
(2)金瓷結合性能:臨床檢查固定義齒是否出現瓷層崩裂且裂隙延伸至金屬-陶瓷交界處,或大塊瓷層脫落的現象。
(3)色穩定性:臨床檢查固定義齒的合金部分是否出現肉眼可見的色澤變化,如變暗、失去金屬光澤等。
(4)生物安全性:密切關注患者的不良反應,包括局部及全身性的過敏、炎癥等。
(5)牙體情況:檢查受試者的牙體情況是否正常,包括:牙體是否有變色,叩痛;牙周狀況(牙周袋、BOP等);口腔粘膜狀況;X線片檢查等。
2.3.2活動義齒
(1)適合性:臨床檢查活動義齒金屬部分精度是否滿足臨床要求,包括適合性、就位及取戴是否正常等。
(2)力學性能:臨床檢查活動義齒金屬部分力學性能是否滿足臨床要求,包適彈性、剛度等。
(3)色穩定性:臨床檢查活動義齒的合金部分是否出現肉眼可見的色澤變化,如變暗、失去金屬光澤等,同時應檢查活動義齒的塑料基托及人工牙是否被金屬離子染色。
(4)生物安全性:密切關注患者的不良反應,包括局部及全身性的過敏、炎癥等。
(5)牙體情況:檢查受試者的牙體情況是否正常,包括牙體是否有變色、叩痛,牙周狀況(牙周袋、BOP等),口腔粘膜狀況,X線片檢查等。
2.4 臨床試驗的檢查時間點
臨床試驗應檢測受試者試驗前(基線)、佩戴該金屬材料制作的義齒后第1、7、14、30、90、180天多個時間點進行檢查。
2.5 臨床試驗的分組、數據制表及統計分析
2.5.1分組:考慮到義齒制作用合金臨床試驗的特殊性,可考慮不設對照組,采用單一試驗組,對受試者的情況進行評價計分并進行匯總。
2.5.2數據制表及統計分析:應當對所有受試者報告表中的數據進行制表,包括未完成調查受試者資料的副本,將臨床試驗數據進行統計分析,記錄統計分析的方法及結果。應當根據試驗設計類型、比較類型、資料性質和統計分析目的,合理選擇統計分析方法,并對所用的統計學方法,必須引用參考目錄或列出公式,并對任何變更進行解釋。
2.6臨床試驗結束后,所出具的臨床試驗報告應符合臨床試驗方案的要求,其中具體內容應符合《醫療器械臨床試驗規定》的相關規定。
2.6.1臨床試驗報告內容應與臨床試驗方案內容保持一致,尤其注意明確以下內容:試驗產品的產品名稱、規格型號及所對應的試驗病例數;試驗產品的臨床適用范圍/適應證、禁忌證與注意事項。
2.6.2臨床試驗報告中應明確失訪例數及失訪原因。
2.6.3臨床試驗報告中需報告所有不良事件和不良反應發生的時間、發生的原因、結果及與試驗用品的關系。對于所采取的措施及受試者的愈后需予以明確記錄說明。
2.6.4臨床試驗報告中應明確臨床試驗結論。必要時要隨臨床報告同時提交用于統計分析的數據庫。
(十一)產品的不良事件歷史記錄
暫未收到相關不良事件報告。
(十二)產品說明書、標簽和包裝標識
產品說明書、標簽和包裝標識的編寫要求應符合《醫療器械說明書、標簽和包裝標識管理規定(國家食品藥品監督管理局令第10號)》和YY/T 0466.1-2009 《醫療器械 用于醫療器械標簽、標記和提供信息的符號 第1部分:通用要求》的要求。同時應注意以下要求:
1.產品名稱
1.1 產品名稱應與本指導原則中“產品名稱要求”一節相一致;
1.2產品如有商品名稱,商品名稱的表述不能與本指導原則中“產品名稱要求”一節相沖突或相違背。
2.產品的性能、參數、技術指標
產品應標明規格型號和預期用途,同時應標注如下性能指標及參數:
2.1產品應標示金屬材料的組成成分:質量分數大于0.1%的每種元素都應聲明,質量分數大于 1.0%的每種成分都應注明其質量分數,精確至 0.1%;
2.2 標示0.2%規定非比例延伸強度;
2.3 標示斷裂延伸率;
2.4 標示彈性模量;
2.5 標示密度;
2.6 標示產品具有抗晦暗的聲明,若適用;
2.7 標示液相線和固相線溫度或熔點;
2.8 標示線脹系數,如果產品用于制作金屬烤瓷修復體;
2.9 標示推薦的鑄造溫度,如果產品作為鑄造合金或者金屬烤瓷合金;
2.10 標示推薦的最高燒結溫度,如果產品用于制作金屬烤瓷修復體;
2.11標示如果金屬材料用于制作金屬烤瓷修復體,應說明加工條件,并提供與至少一種匹配(指定)的符合 ISO 9693 的陶瓷材料達到滿意結合的表面預備的說明。
3. 禁忌證:
禁忌證應至少包括:對金屬元素過敏患者。
應標明注意事項以及其他需要警示或者提示的內容。
3.1 產品禁忌證和注意事項應與臨床試驗資料、專家評審意見或前次注冊核準的內容一致;
3.2 產品應標示關于潛在副作用的詳細信息并標注“本產品含鎳”,如果產品中的鎳含量超過 0.1 %(質量分數);
3.3 標示操作說明;
3.4 標示如果使用說明書中推薦軟化或硬化,應提供熱處理說明;
3.5 標示在研磨時預防粉塵吸入的建議;
3.6 說明書中不應含有《醫療器械說明書、標簽和包裝標識管理規定》(國家食品藥品監督管理局令第10號)中規定的不得標明的內容。
4.產品的運輸、儲存
4.1 產品的運輸和儲存條件應與產品標準規定的一致。
(十三)注冊單元的劃分原則
不同金屬組成、相同金屬組成不同質量分數范圍或不同功能的義齒制作用合金應分別注冊。義齒制作用合金可根據產品的形狀、尺寸來區分型號規格。
(十四)同一注冊單元中典型產品的確定原則和實例
同一注冊單元內,典型產品作為被檢測的產品,是指能夠代表本注冊單元內其他產品安全性和有效性的產品,其結構最復雜、風險最高。
例如:可選取產品工藝、結構相對最復雜的形狀/尺寸的型號規格作為典型產品進行型式檢測。
(一)關于產品名稱: 義齒制作用合金的命名應至少包含產品的主要成分和功能,對于制作工藝、產品形態等不作強行規定,企業可以根據實際需要考慮是否需要規定。
(二)關于典型產品選取:典型產品應是同一注冊單元內能夠代表本單元內其他產品安全性和有效性的產品,應考慮功能最齊全、結構最復雜、風險最高的產品。應選取典型產品進行型式檢驗。
(三)關于產品的結構組成:應聲明合金中含量大于0.1%(質量分數)的所有成分,對含量大于1.0%(質量分數)的所有成分,應聲明每種成分并精確至0.1%(質量分數)。
(四)關于產品主要技術性能指標:主要技術性能指標是否執行了強制性國家標準和行業標準,是否引用了適用的推薦性標準。
(五)關于產品的風險分析:主要風險是否已經列舉,并通過風險控制措施使產品的風險在合理可接受的水平之內。
(六)關于產品的說明書:產品說明書是否符合《醫療器械說明書、標簽和包裝標識管理規定》及相關國家標準、行業標準的規定。必須告知用戶的信息是否完整。
(一)本指導原則編寫的目的是用于指導和規范第二類義齒制作用合金產品注冊申報過程中審查人員對注冊材料的技術審評。
(二)本指導原則旨在讓初次接觸該類產品的注冊審查人員對產品機理、結構、主要性能、預期用途等各個方面有個基本了解,同時讓技術審查人員在產品注冊技術審評時把握基本的尺度,對產品安全性、有效性作出系統評價。
(一)《醫療器械監督管理條例》
(二)《醫療器械注冊管理辦法》(國家食品藥品監督管理局令第16號)
(三)《醫療器械臨床試驗規定》(國家食品藥品監督管理局令第5號)
(四)《醫療器械說明書、標簽和包裝標志管理規定》(國家食品藥品監督管理局令第10號)
(五)《醫療器械標準管理辦法》(國家藥品監督管理局令第31號)
(六) 關于印發《境內第一類醫療器械注冊審批操作規范(試行)》和《境內第二類醫療器械注冊審批操作規范(試行)》的通知(國食藥監械〔2005〕73號)
(七)國家食品藥品監督管理部門發布的其他規范性文件
(一)關于產品命名和注冊單元劃分
決定產品性能的關鍵因素是合金的成分,且不同用途的合金產品對于性能的要求也截然不同。本指導原則要求產品命名需要明確標示出合金的主要成分和功能,注冊單元也按照產品不同的形狀、尺寸來區分型號規格。
隨著科學技術的不斷進步,許多新的成型工藝在義齒制作中得到了大量的應用,并取得了良好的效果。因此,本指導原則在產品命名和注冊單元劃分上對工藝、產品形態不作具體的規定。
(二)關于義齒制作用合金參考標準引用
義齒制作用合金現行有效標準主要包括以下4個:YY 0620-2008《牙科學 鑄造金合金》、YY 0626-2008 《貴金屬含量25%~75%的牙科鑄造合金》、GBT 17168-2008 《牙科鑄造貴金屬合金》、YY 0621-2008《牙科金屬-烤瓷修復體系》,這4個標準不包括對非貴金屬合金的要求,且各標準的性能指標要求又不盡相同。
ISO22674-2006《Dentistry - Metallic materials for fixed and removable restorations and appliances》,此標準是取代了ISO1562:2004和ISO8891:1998(YY 0620-2008、YY 0626-2008、GB/T 17168-2008均是根據這兩個標準翻譯或修訂而得)之后的一個綜合版本,且要求更為嚴格,現已等同轉化為國家標準,尚處于報批階段。
故在制定本指導原則時,主要性能指標和檢測項目仍依據標準YY 0620-2008 《牙科學 鑄造金合金》、YY 0621-2008 《牙科金屬 烤瓷修復體系》、YY 0626-2008 《貴金屬含量25%~75%的牙科鑄造合金》、GB/T 17168-2008 《牙科鑄造貴金屬合金》中的要求,并參照YY 0621-2008《牙科金屬 烤瓷修復體系》標準,增加了貴金屬與非貴金屬成分含量的偏差的區分、線熱膨脹系數、金瓷結合強度檢測項目。
但對義齒制作用合金的分類、機械性能、硬度、密度、化學性能等要求,采納了ISO 22674:2006的規定。其中,對硬度的要求不再以類別區分,統一要求為“與標示值偏差不大于±10%”;對密度的要求由“應在標示值的±0.5g/cm3”修改為“與標示值偏差不大于±5%”。
對于烤瓷修復用合金,其金瓷結合性能須滿足YY 0621-2008《牙科金屬-烤瓷修復體系》。
另外,因為貴金屬合金本身性能比較穩定,目前在臨床使用中也暫未收到相關不良事件報告,故暫不對貴金屬合金按照YY/T 0268-2008 《牙科學 口腔醫療器械生物學評價 第1單元:評價與試驗》提出檢測亞慢性(亞急性)全身毒性(經口途徑)的要求。
同時,按照YY/T 0268-2008 《牙科學 口腔醫療器械生物學評價 第1單元:評價與試驗 》附錄A規定,對于“大于30天的持久接觸的表面接觸器械”要進行亞慢性毒性試驗,可不進行急性全身毒性試驗檢測。但考慮到GB/T 16886.11-2011《醫療器械生物學評價 第11部分:全身毒性試驗》的“5.1 總則”中指出:急性毒性試驗可作為亞急性/亞慢性和其他試驗確定劑量接觸方式的初試步驟,并且可提供物質預期臨床接觸途徑毒性作用模式方面的信息。在本指導原則中,因為有貴金屬類義齒用合金可暫不進行亞慢性毒性試驗的定論,故在沒有進行亞慢性毒試驗的前提下,建議選擇“急性全身毒性試驗”作為對可能存在的風險進行監控的目的。在GB/T 16886.1-2011《醫療器械生物學評價 第1部分:風險管理過程中的評價與試驗》和《YY/T 0268-2008 《牙科學 口腔醫療器械生物學評價 第1單元:評價與試驗 》附錄A中都有指出:“表A.1是一個評定性程序的框架,不是一個核查清單。”故對義齒制作用合金提出檢測急性全身毒性的要求。
(三)義齒制作用合金作為生產定制式義齒的原材料,已有很長臨床使用歷史和很多臨床使用證據,臨床預期用途和作用機理是明確的。決定合金產品性能的關鍵因素是合金的成分和功能,通過強化合金物理化學性能檢測及生物相容性方面的評價,可以合理判斷合金的安全有效性。但考慮到合金雖然出廠時不直接作用于人體,但用于制作的定制式義齒成品注冊已不需要進行臨床試驗,如果合金也不進行臨床試驗,可能有潛在的安全風險。因此,我們對義齒制作用合金的臨床資料提出如下要求:
1.若申報準產注冊的義齒制作用合金產品,其主要化學成分和功能與已上市產品相同的,企業可以不提交臨床試驗資料,但應提交與已上市同類產品(同類產品合法上市,其注冊證在有效期之內)的對比說明。
2.若申報準產注冊的義齒制作用合金產品,其主要化學成分和功能在市場上沒有相同產品注冊上市的,企業應進行臨床試驗。
在臨床試驗檢查項目的確定上,本指導原則分別就固定義齒和活動義齒,列出了適合性、色穩定性、生物安全性、力學性能和牙體情況等幾個主要的檢查指標。所選評判項目是實際臨床工作中較常用且能表征義齒性能的幾個指標,其中 “適合性”是義齒是否能滿足臨床使用的最為重要的條件之一。適合性是否滿足需要,與義齒制作用合金的理化性能密切相關:例如,在義齒的生產制作中的合金鑄造工序,合金經加熱從固態轉換為液態后再從液態轉變為固態,溫度從室溫加熱至900℃以上再下降至室溫。在這種劇烈變化的冶金過程中,合金的鑄造流動性、應力的釋放、相位的變化等理化性能,均會對這一過程產生決定性的影響,最終將直接影響義齒的適合性,因此需要對其進行檢測。為排除技師操作、制作工藝、包埋材料質量等因素的影響,臨床檢測過程中所用定制式義齒,應交由具有相應資質的定制式義齒生產企業制作完成。
本指導原則意在通過義齒的臨床性能,檢查制作義齒所用的合金能否滿足臨床要求,從而對合金的技術指標進行判斷。在臨床試驗分組方法的確認上,由于定制式義齒作為定制式產品,其情況多變且復雜,每一例義齒均是獨一無二的,因此設置空白對照組的臨床試驗方法,不適用于義齒合金的臨床試驗。因此本指導原則未設計空白對照實驗組,而改為檢查各個檢查時間點所試驗合金各項指標的通過率。在臨床試驗檢查時間點的制定上,本指導原則制定了義齒戴入后第1、7、14、30、90、180天多個時間點進行檢查。這些時間點的選擇主要是根據目前已有的醫用類材料臨床試驗的檢測時間點確認。
在審查操作中,應排除因制作原因影響評判結果的情況。
本指導原則的編寫成員由四川省食品藥品監督管理局醫療器械產品注冊行政審批人員、四川省食品藥品安全監測及評審認證中心醫療器械產品注冊技術審評人員、四川大學國家生物醫學材料工程技術研究中心研究人員、四川醫療器械生物材料和制品檢驗中心檢測專家、四川大學制造科學與工程學院技術人員、四川大學華西口腔醫院臨床專家、四川省相關生產企業代表組成,以充分利用各方面的信息和資源,綜合考慮指導原則中各個方面的內容,盡量保證指導原則正確、全面、實用。

站點聲明
本網站所提供的信息僅供參考之用,并不代表本網贊同其觀點,也不代表本網對其真實性負責。圖片版權歸原作者所有,如有侵權請聯系我們,我們立刻刪除。如有關于作品內容、版權或其它問題請于作品發表后的30日內與本站聯系,本網將迅速給您回應并做相關處理。
鄭州思途醫療科技有限公司專注于醫療器械產品政策與法規規事務服務,提供產品注冊備案申報代理、臨床試驗、體系建立輔導、分類界定、申請創新辦理服務。
為深入貫徹落實中共中央辦公廳、國務院辦公廳印發的《關于深化審評審批制度改革鼓勵藥品醫療器械創新的意見》(廳字〔2017〕42號),按照國家藥品監督管理局《關于擴大醫療器械
為規范醫療器械注冊人跨區域委托生產的監督管理,推進長江三角洲區域醫療器械跨區域監管,根據《中共中央辦公廳國務院辦公廳關于深化審評審批制度改革鼓勵藥品醫療器械創新的意見》《
附件:血液透析用水處理設備注冊審查指導原則(2024年修訂版)(2024年第19號).doc血液透析用水處理設備注冊審查指導原則(2024年修訂版)本指導原則旨在指導注冊申請人對血液透析用水處理設備注冊申報資料的準備及撰寫,同時也為技術審評部門提供參考。本指導原則是對血液透析用水處理設備的一般要求,注冊申請人依據產品的具體特性確定其中內容是否適用。若不適用,要具體闡述理由及相應的科學依據,并依據產
本指導原則旨在幫助和指導注冊申請人對一次性使用腹部穿刺器注冊申報資料進行準備,以滿足技術審評的基本要求。同時有助于審評機構對該類產品進行科學規范的審評,提高審評工
附件:重組膠原蛋白創面敷料注冊審查指導原則(2023年第16號).doc重組膠原蛋白創面敷料注冊審查指導原則本指導原則旨在指導注冊申請人準備及撰寫重組膠原蛋白創
國家藥監局關于發布免于臨床試驗的體外診斷試劑臨床評價技術指導原則的通告(2021年第74號)發布時間:2021-09-24為指導體外診斷試劑的臨床評價工作,根據
國家市場監督管理總局令 第47號 《醫療器械注冊與備案管理辦法》已經2021年7月22日市場監管總局第11次局務會議通過,現予公布,自2021年10月1日起施行。 附件: 醫療器械注冊與備案管
國家藥監局藥審中心關于發布《抗腫瘤藥物臨床試驗中SUSAR分析與處理技術指導原則》的通告(2024年第42號) 發布日期:20241010
國家藥監局器審中心關于發布影像型超聲診斷設備(第三類)注冊審查指導原則(2023年修訂版)的通告(2024年第29號)發布時間:2024-10-14為進一步規范
附件:一次性使用醫用沖洗器產品注冊審查指導原則(2022年第41號).doc一次性使用醫用沖洗器產品注冊審查指導原則本指導原則旨在指導注冊申請人對一次性使用醫用
行業資訊
知識分享
八年
醫療器械服務經驗
聯系思途,免費獲得專屬《落地解決方案》及報價
咨詢相關問題或咨詢報價,可以直接與我們聯系
思途CRO——醫療器械注冊臨床第三方平臺
