干貨|臨床SSU工作內容和具體工作流程
SSU是Study Start Up的縮寫,從最初的項目準備,到啟動訪視(Site Initiation Visit)之前所有的準備工作,對整個臨床研究項目的啟動非常關鍵。負責這個關鍵階段工作的部門人員,就叫做SS
來源:醫療器械注冊代辦 發布日期:2023-10-10 閱讀量:次
?
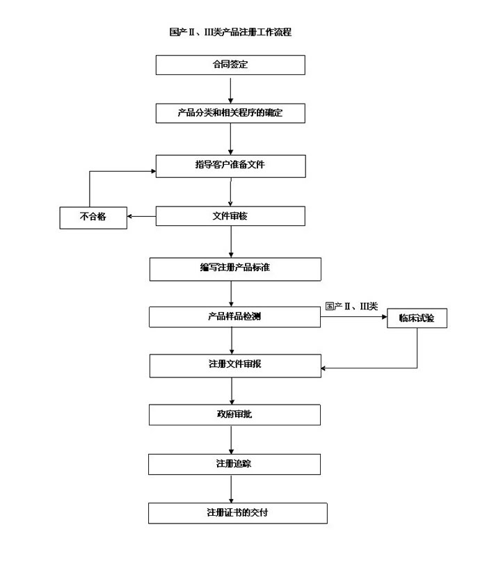
眾所周知,醫療器械分為三類,一類采用備案制,二三類采用注冊制管理,等級越高,管理越嚴格。一類醫療器械都是免臨床的,因此備案工作比較簡單不繁瑣。而二三類醫療器械除免臨床產品外,絕大多數產品都是需要臨床試驗的,需臨床的產品注冊周期也更長。一類醫療器械備案流程和資料準備,可以查看第一類醫療器械(產品備案憑證)代辦服務。想了解醫療器械注冊整體流程和避坑的,可以看看聊一下醫療器械產品注冊流程(從類別鑒定到拿到注冊證)。本文分享二三類醫療器械產品注冊整體流程,以圖片形式展示。

二三類醫療器械依據注冊主體在境內外的原因,將醫療器械分為國產醫療器械注冊和進口醫療器械注冊,兩者的注冊整體流程自然也不一樣。一起看看:


國產二三類醫療器械可以走注冊人制度,委托異地生產企業代為生產。進口無法走注冊人制度哦,請知悉。如您對看不懂上述流程圖,不妨聯系我們的客服人員,詳細給您講解。

站點聲明
本網站所提供的信息僅供參考之用,并不代表本網贊同其觀點,也不代表本網對其真實性負責。圖片版權歸原作者所有,如有侵權請聯系我們,我們立刻刪除。如有關于作品內容、版權或其它問題請于作品發表后的30日內與本站聯系,本網將迅速給您回應并做相關處理。
鄭州思途醫療科技有限公司專注于醫療器械產品政策與法規規事務服務,提供產品注冊備案申報代理、臨床試驗、體系建立輔導、分類界定、申請創新辦理服務。
SSU是Study Start Up的縮寫,從最初的項目準備,到啟動訪視(Site Initiation Visit)之前所有的準備工作,對整個臨床研究項目的啟動非常關鍵。負責這個關鍵階段工作的部門人員,就叫做SS
初次申請消字號備案,總會遇到磕磕絆絆的問題,常見的有申請流程、申請資料、申請周期等問題,本文將對申請消字號產品流程及費用簡單概述,對即將進入消毒產品行業的企業做一
從事醫療器械注冊的小伙伴們可能都為同一個問題苦惱過,那就是醫療器械注冊單元的劃分。企業所設計開發出的產品,其所包含的產品范圍,是否可通過一個注冊單元完成注冊,從而
醫療器械的使用壽命是指醫療器械從規劃、設計、生產、銷售、安裝調試到使用、維修、維護檢測、報廢的全過程。而醫院使用的醫療器械的應用質量和安全管理在整個壽命過程中占重
大多數CRO公司在臨床試驗現場啟動會(SIV)上,常由CRA主導。作為一名有上進心的CRA必須清楚的了解到臨床試驗現場啟動考察的流程,再分享一些本人在啟動會考察的細節,請看下文。
隨著醫療器械出口的日益增長,根據市場的需求各醫療器械生產廠商需要符合國家和地區的質量體系法規越來越多,所以經常會碰到出處于不同法規或標準的一些比較容易混淆的概念及
你是否遇到過這樣的問題,國產化妝品小品牌不少,怕買到假冒偽劣產品,現在的仿造化妝品也不少,外包裝還同樣有防偽標簽,就很頭疼。那么,查詢國產非特殊用途化妝品備案信息
關中心訪視(Close Out Visits,簡稱COV),想必大家都聽說過。作為臨床試驗最后一個階段,COV也是非常重要的一個環節,今天和大家分享一下作為監查員在COV時應該做哪些工作。什么時候
剛接觸醫療器械CRO行業的小伙伴,在學習文件法規資料的同時,常看到一些英文類專業名詞不知道是什么意思。下面,一起看看常見的醫療器械臨床試驗專業術語......"
醫療器械注冊證是依照法定程序,對擬上市銷售、使用的醫療器械的安全性、有效性進行評價,決定同意其銷售、使用后發放的證件,由國家食品藥品監督管理總局統一制定。"
行業資訊
知識分享
八年
醫療器械服務經驗
聯系思途,免費獲得專屬《落地解決方案》及報價
咨詢相關問題或咨詢報價,可以直接與我們聯系
思途CRO——醫療器械注冊臨床第三方平臺
